Operation CHARM: Car repair manuals for everyone.
Manuals through 2025 now available!

Our trusted friends have launched a new website named LEMON, which has newer manuals. It also contains all the CHARM manuals.

LEMON is the spiritual successor to CHARM, I recommend you try it!

Link: lemon-manuals.la or lemon-manuals.org.ua

(Some people have issue connecting. LEMON is investigating. For now, use Firefox or change your DNS server)

Or, hide this message: temporarily or permanently

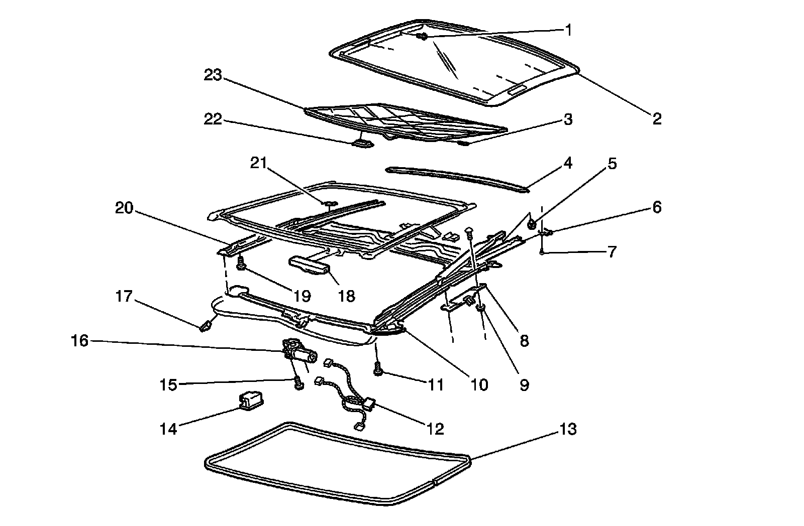
Power Sunroof Disassembled View



Power Sunroof Disassembled View




1 - Sunroof Window Bolt/Screw
2 - Sunroof Window Panel
3 - Sunroof Sunshade Guide
4 - Sunroof Housing Protector
5 - Sunroof Window Guide Bumper
6 - Sunroof Sunshade Stop
7 - Sunroof Sunshade Stop Screw
8 - Sunroof Module Assembly Bracket
9 - Sunroof Module Assembly Bracket Nut
10 - Sunroof Housing Assembly - LH
11 - Sunroof Module Assembly Bolt/Screw
12 - Sunroof Wiring Harness
13 - Sunroof Opening Lace
14 - Sunroof Switch
15 - Sunroof Actuator/Motor Bolt/Screw
16 - Sunroof Actuator/Motor
17 - Sunroof Actuator Cable Retainer
18 - Sunroof Control Module
19 - Sunroof Track Bolt/Screw
20 - Sunroof Housing Assembly -RH
21 - Sunroof Wear Plate
22 - Sunroof Sunshade Handle
23 - Sunroof Sunshade