Operation CHARM: Car repair manuals for everyone.
Manuals through 2025 now available!

Our trusted friends have launched a new website named LEMON, which has newer manuals. It also contains all the CHARM manuals.

LEMON is the spiritual successor to CHARM, I recommend you try it!

Link: lemon-manuals.la or lemon-manuals.org.ua

(Some people have issue connecting. LEMON is investigating. For now, use Firefox or change your DNS server)

Or, hide this message: temporarily or permanently

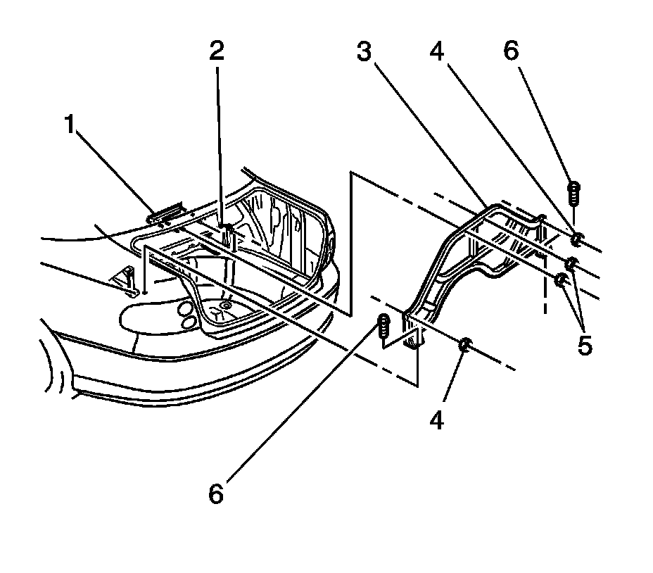
Structural Brace: Service and Repair



Support Brace Replacement - Rear Compartment

Removal Procedure

1. Remove the rear compartment rear center trim panel carpet. Refer to Front Trim Panel Replacement - Rear Compartment (Removal and Replacement) in Interior Trim.




2. Remove the 2 nuts (5) attaching the rear compartment support brace (3) to the rear compartment panel frame (1).
3. Remove the 2 nuts (4) attaching the rear compartment support brace (3) to the underbody side rail brackets (2).
4. Remove the 2 bolts (6).
5. Lean the support brace (3) forward off the studs and remove from the rear compartment of the vehicle.




6. Remove the 4 bolts (1) from the rear brackets (2), if necessary.
7. Remove the brackets (2) from the rear compartment, if necessary.



Installation Procedure





1. Install the brackets (2) to the rear compartment, if removed.

Notice: Refer to Fastener Notice in Cautions and Notices.

2. Install the 4 bolts (1) attaching the rear brackets (2).

Tighten the bolts to 20 N.m (15 lb ft).





3. Position the support brace (3) to the studs in the rear compartment of the vehicle.
4. Install the 2 bolts (6).

Tighten the bolts to 20 N.m (15 lb ft).

5. Install the 2 nuts (4) attaching the rear compartment support brace (3) to the underbody side rail brackets (2).

Tighten the nuts to 20 N.m (15 lb ft).

6. Install the 2 nuts (5) attaching the rear compartment support brace (3) to the rear compartment panel frame (1).

Tighten the nuts to 20 N.m (15 lb ft).

7. Install the rear compartment rear center trim panel. Refer to Front Trim Panel Replacement - Rear Compartment (Removal and Replacement) in Interior Trim.