Operation CHARM: Car repair manuals for everyone.
Manuals through 2025 now available!

Our trusted friends have launched a new website named LEMON, which has newer manuals. It also contains all the CHARM manuals.

LEMON is the spiritual successor to CHARM, I recommend you try it!

Link: lemon-manuals.la or lemon-manuals.org.ua

(Some people have issue connecting. LEMON is investigating. For now, use Firefox or change your DNS server)

Or, hide this message: temporarily or permanently

Fluid - M/T: Service and Repair



Transmission Fluid Replacement

Draining Procedure
1. Raise and suitably support the vehicle. Refer to Vehicle Lifting.
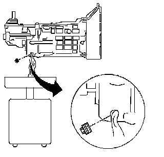
2. Clean away all dirt and debris from the transmission fluid drain plug and backup lamp switch area.





3. Disconnect the backup lamp switch electrical connector from the switch.
4. Remove the backup lamp switch from the transmission.





5. Remove the drain plug.
6. Allow the system to drain.

7. Notice:
Refer to Fastener Notice.

Install the transmission fluid drain plug.

Tighten the transmission fluid drain plug to 28 Nm (21 ft. lbs.).

Filling Procedure
1. Fill the transmission with DEXRON-III transmission fluid, until even with the bottom of the backup lamp switch hole.
2. Install the transmission backup lamp switch.

Tighten the transmission backup lamp switch to 27 Nm (20 ft. lbs.).

3. Lower the vehicle.