Operation CHARM: Car repair manuals for everyone.
Manuals through 2025 now available!

Our trusted friends have launched a new website named LEMON, which has newer manuals. It also contains all the CHARM manuals.

LEMON is the spiritual successor to CHARM, I recommend you try it!

Link: lemon-manuals.la or lemon-manuals.org.ua

(Some people have issue connecting. LEMON is investigating. For now, use Firefox or change your DNS server)

Or, hide this message: temporarily or permanently

Front Lower Control Arm Rod Replacement


Front Lower Control Arm Rod Replacement
Removal Procedure
1. Raise and support the vehicle. Refer to Vehicle Lifting.
2. Remove the front tire and wheel assembly.





3. Loosen the nut (11) that retains the front lower control arm rod (9) to the front lower control arm rod insulator bushing (2).
4. Remove and discard the nut (5) that retains the rod to the front lower control arm (7).
5. Remove the washer (6) from the rod.
6. Remove the 4 nuts (1) that retain the insulator bushing to the front frame.
7. Pull the insulator bushing away from the front frame.
8. Remove the rod and the rod retainer (8) from the lower control arm.
9. Remove the rod retainer from the rod.
10. Pull the rod through the hole in the front frame. Remove the rod and the insulator bushing as an assembly.
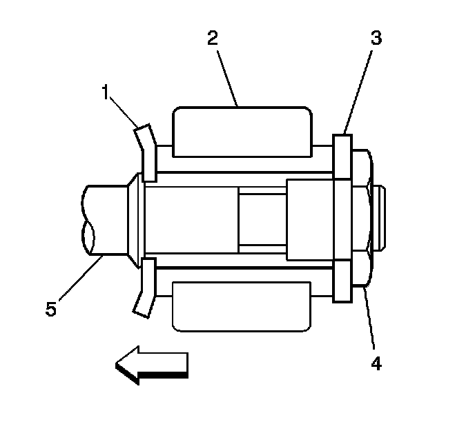
11. Place the rod in a soft jaw vise.
12. Remove and discard the nut that retains the rod to the insulator bushing.
13. Remove the insulator bushing from the rod.
14. If a washer (10) is on the rod, remove the washer.

Installation Procedure





1. Important: The front of the front lower control arm rod (9) has more distance between the shoulder and the end of the threads. The washer (10) for the front of the rod is for reducing caster.

If equipped, install the washer to the front of the rod.
2. Install the rod, rear end first, through the hole in the frame.





3. Install the rod retainer (1) to the rod (5) with the convex side toward the control arm (2).
4. Install the rod to the control arm.
5. Install the washer (3) to the rear of the rod.

6. Important: Do not tighten the nut yet.

Install a NEW nut (4) in order to retain the rod to the control arm.
7. Install the insulator bushing over the front of the rod.
8. Install the insulator bushing to the studs on the frame.

9. Notice: Refer to Fastener Notice in Service Precautions.

Install the 4 nuts in order to retain the insulator bushing to the frame.
Tighten the nuts to 23 Nm (17 ft. lbs.).

10. Important: Do not tighten the nut yet.

Install a NEW nut in order to retain the rod to the insulator bushing.
11. Install the front tire and wheel assembly.
12. Lower the vehicle.
13. With the weight of the vehicle on the tire and wheel assemblies, push down on the front bumper 3 times in order to stabilize the suspension.
14. Tighten the nut that retains the rod to the insulator bushing.
Tighten the nut to 148 Nm (109 ft. lbs.).
15. Tighten the nut that retains the rod to the control arm.
Tighten the nut to 103 Nm (76 ft. lbs.).
16. Measure the wheel alignment. Adjust the wheel alignment if necessary. Refer to Measuring Wheel Alignment in Wheel Alignment.