Operation CHARM: Car repair manuals for everyone.
Manuals through 2025 now available!

Our trusted friends have launched a new website named LEMON, which has newer manuals. It also contains all the CHARM manuals.

LEMON is the spiritual successor to CHARM, I recommend you try it!

Link: lemon-manuals.la or lemon-manuals.org.ua

(Some people have issue connecting. LEMON is investigating. For now, use Firefox or change your DNS server)

Or, hide this message: temporarily or permanently

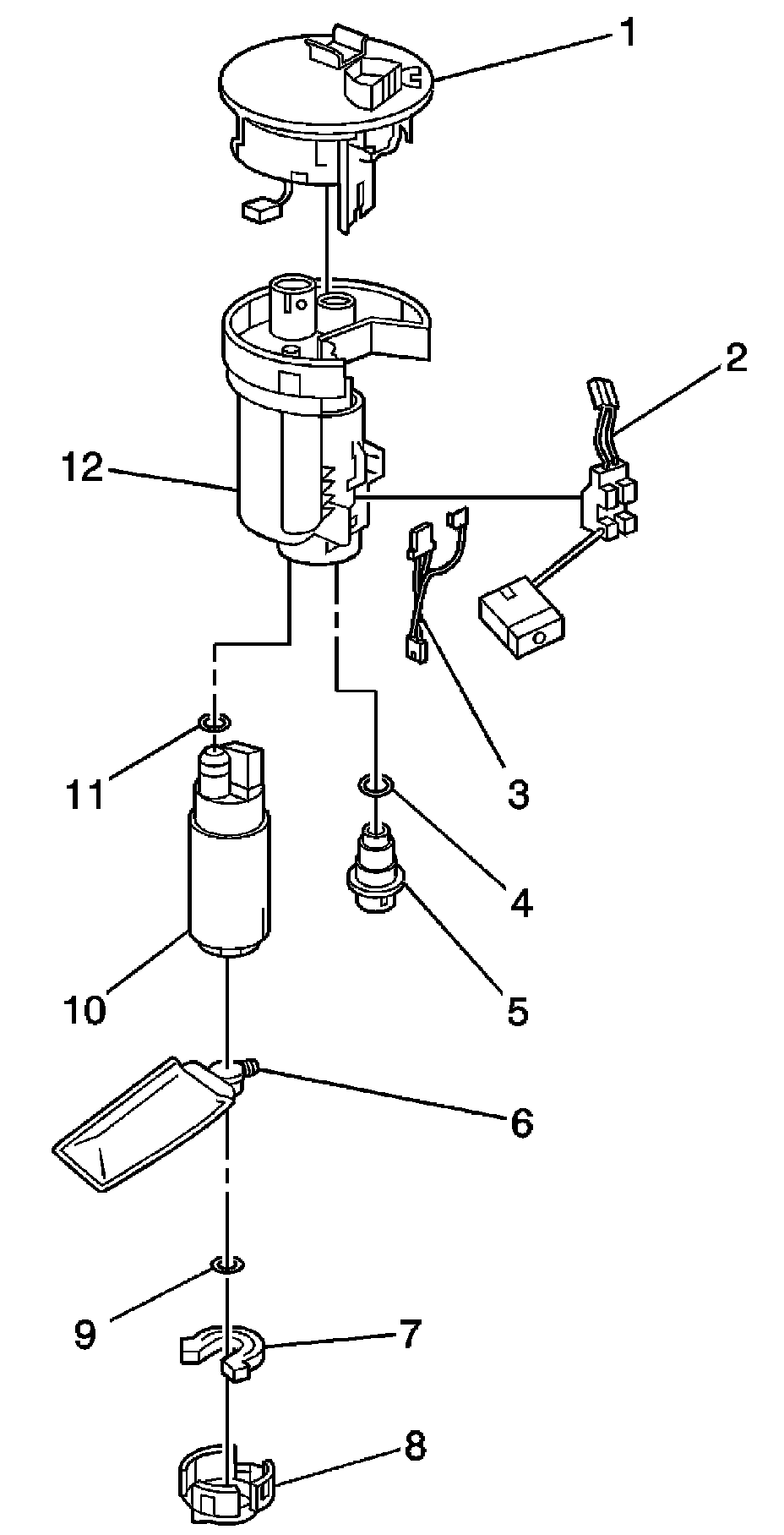
Fuel Filter: Service and Repair



FUEL PUMP AND FUEL FILTER ASSEMBLY REPLACEMENT

REMOVAL PROCEDURE




1. Remove the fuel sender assembly.
2. Remove the bottom cap (2) and the lower cushion (3) from the fuel sender assembly.
3. Remove the fuel pressure regulator (1).




4. Disconnect the fuel level sensor electrical connector.
5. Remove the fuel level sensor (1).




6. Remove the fuel sender top cap (1) from the fuel filter assembly.
7. Disconnect the fuel pump electrical connector.




8. Remove the fuel pump (1) from the fuel filter assembly (2).




9. Remove the retaining ring for the fuel strainer from the fuel pump.

INSTALLATION PROCEDURE




1. Install the fuel pump strainer (6) to the fuel pump (10). Use a new retaining ring (9).
2. Apply gasoline to fuel pump O-ring (11), and install to the fuel pump.
3. Install the fuel pump (10) in to the fuel filter assembly (12).
4. Apply gasoline to fuel pressure regulator O-ring (4), and install the O-ring onto the fuel pressure regulator (5).
5. Install the fuel pressure regulator (5) into the fuel filter assembly (12).
6. Connect the electrical connector (3) to the fuel pump. Ensure that connections are secure at the fuel pump and the top cap (1) of the sender assembly.
7. Install the fuel sender assembly top cap (1) to the fuel filter assembly (12). The fuel sender assembly end caps snap into place.
8. Install the fuel level sensor (2) to the fuel sender assembly.
9. Connect the fuel level sensor electrical connector.
10. Position lower cushion (7) on bottom of fuel pump and install the lower cap (8) to the fuel filter assembly.