Operation CHARM: Car repair manuals for everyone.
Manuals through 2025 now available!

Our trusted friends have launched a new website named LEMON, which has newer manuals. It also contains all the CHARM manuals.

LEMON is the spiritual successor to CHARM, I recommend you try it!

Link: lemon-manuals.la or lemon-manuals.org.ua

(Some people have issue connecting. LEMON is investigating. For now, use Firefox or change your DNS server)

Or, hide this message: temporarily or permanently

Radiator Hose: Locations



Cooling System Component Views

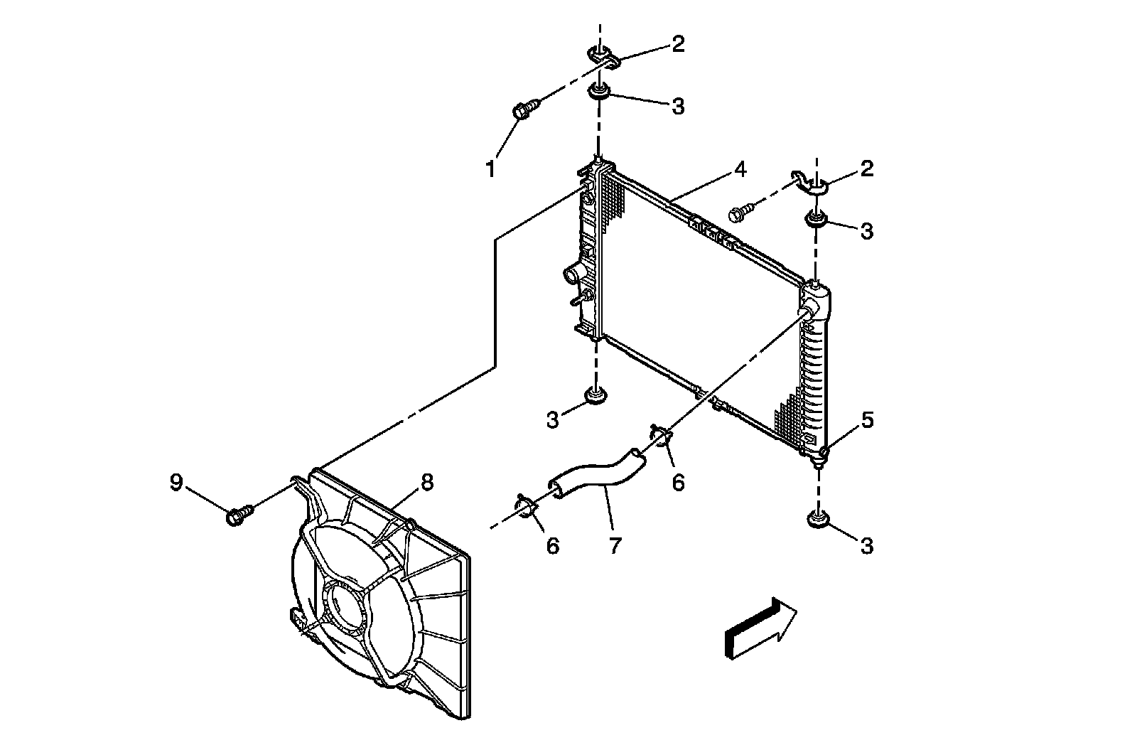
Radiator/Fan (Single):





1 - Bolt
2 - Radiator Bracket
3 - Radiator Bumper
4 - Radiator
5 - Drain Cock
6 - Spring Clamp
7 - Upper Radiator Hose
8 - Cooling Fan
9 - Bolt

Radiator/Fan (Dual):





1 - Bolt
2 - Radiator Bumper
3 - Radiator Bracket Bolt
4 - Radiator Bracket
5 - Radiator
6 - Drain Cock
7 - Upper Radiator Hose
8 - Cooling Fan (Main)
9 - Cooling Fan (Auxiliary)