Operation CHARM: Car repair manuals for everyone.
Manuals through 2025 now available!

Our trusted friends have launched a new website named LEMON, which has newer manuals. It also contains all the CHARM manuals.

LEMON is the spiritual successor to CHARM, I recommend you try it!

Link: lemon-manuals.la or lemon-manuals.org.ua

(Some people have issue connecting. LEMON is investigating. For now, use Firefox or change your DNS server)

Or, hide this message: temporarily or permanently

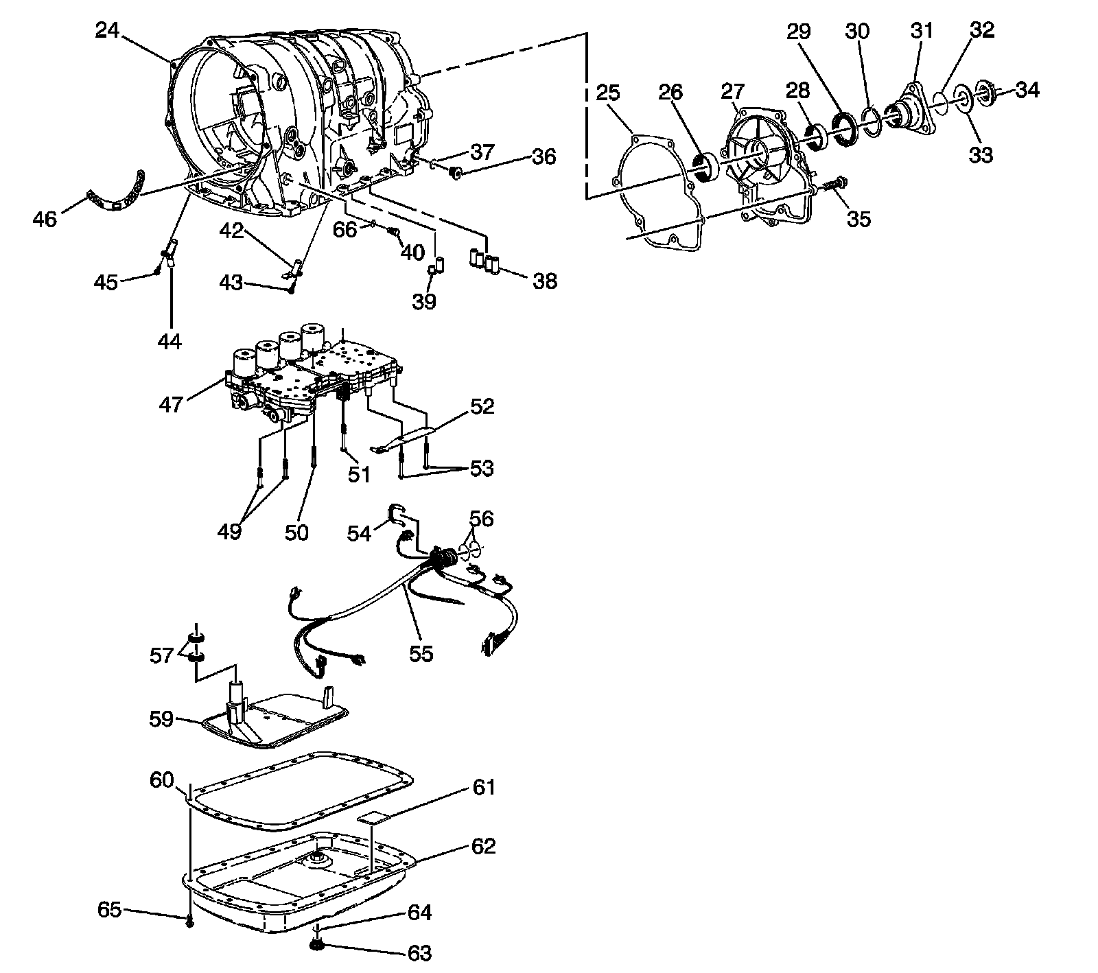
Case and Associated Parts



Disassembled Views

Case and Associated Parts (1 of 2)

Case and Associated Parts (Part 1):





1 - Torque Converter Assembly
2 - Torque Converter Housing to Main Case Bolt
3 - Torque Converter Housing Assembly - Model Dependent
4 - Torque Converter Housing Fluid Seal Assembly
5 - Reverse Clutch Housing Thrust Washer - Selective
6 - Direct and Reverse Clutch Assembly
7 - Forward and Coast Clutch Assembly
8 - Input Sun Gear - W/Forward Clutch Roller Inner Race Shaft
9 - Direct Clutch Hub Thrust Washer
10 - Direct Clutch Assembly- W/Input and Reaction Carrier in Hub
11 - Input and Reaction Carrier Inner Shaft Thrust Washer
12 - Intermediate Clutch Sprag Assembly
14 - Intermediate and Overdrive Clutch Housing Retainer Ring - Selective
15 - Overdrive Clutch Housing Assembly
16 - Low Clutch Sprag Assembly
17 - Low Clutch Roller Thrust Bearing
18 - Center Support
19 - Input and Reaction Carrier Assembly
20 - Input and Reaction Carrier Thrust Bearing
21 - Output Shaft Assembly W/Rear Internal Gear - Model Dependent
22 - Input and Reaction Carrier Washer Selective Steel - Model Dependent
23 - Input and Reaction Carrier Thrust Bearing
24 - Automatic Transmisssion Case Assembly

Case and Associated Parts (2 of 2)

Case and Associated Parts (Part 2):





24 - Automatic Transmission Case Assembly
25 - Automatic Transmission Case Extension Gasket - Model Dependent
25 - Automatic Transmission Case Extension Gasket - Model Dependent
26 - Output Shaft Bearing - Model Dependent
27 - Automatic Transmission Case Extension - Model Dependent
27 - Automatic Transmission Case Extension - Model Dependent
28 - Output Shaft Bearing - Model Dependent
28 - Output Shaft Bearing - Model Dependent
29 - Automatic Transmission Prop Shaft - Model Dependent
30 - Output Shaft Assembly Retainer - Model Dependent
31 - Automatic Transmission Prop Shaft Flange - Model Dependent
32 - Automatic Transmission Prop Shaft Flange - O-Ring Seal - Model Dependent
33 - Automatic Transmission Prop Shaft Thrust Washer - Model Dependent
34 - Prop Shaft Flange Nut - Model Dependent
35 - Automatic Transmission Case Extension Bolt - Model Dependent
35 - Automatic Transmission Case Extension Bolt - Model Dependent
36 - Automatic Transmission Fluid Level Hole Plug
37 - Automatic Transmission Fluid Level Hole Plug O-Ring Seal
38 - Center Support Fluid Passage Sleeve
39 - Overdrive Clutch Fluid Passage Sleeve
40 - Automatic Transmission Pressure Test Plug
42 - Output Speed Sensor
43 - Output Speed Sensor Bolt
44 - Input Speed Sensor
45 - Input Speed Sensor Bolt
46 - Automatic Transmission Fluid Pump Cover Gasket
47 - Control Valve Body and Accumulator Assembly
49 - Control Valve Body Bolt M6 x 1.0 x 50
50 - Control Valve Body Bolt M6 x 1.0 x 38
51 - Control Valve Body Bolt M6 x 1.0 x 50
52 - Manual Shaft Detent Assembly
53 - Control Valve Body Bolt M6 x 1.0 x 68
54 - Wiring Harness Clip
55 - Automatic Transmission Wiring Harness
56 - Automatic Transmission Wiring Harness - O-Ring Seal - 2
57 - Automatic Transmission Filter Seal - 2
59 - Automatic Transmission Fluid Filter
60 - Automatic Transmission Fluid Pan Gasket
61 - Automatic Transmission Fluid Pan Magnet
62 - Automatic Transmission Fluid Pan Assembly
63 - Automatic Transmission Fluid Pan Drain Plug
64 - Automatic Transmission Fluid Pan Drain Plug Seal
65 - Automatic Transmission Fluid Pan Bolt
66 - Automatic Transmission Pressure Test Plug O-Ring Seal