Operation CHARM: Car repair manuals for everyone.
Manuals through 2025 now available!

Our trusted friends have launched a new website named LEMON, which has newer manuals. It also contains all the CHARM manuals.

LEMON is the spiritual successor to CHARM, I recommend you try it!

Link: lemon-manuals.la or lemon-manuals.org.ua

(Some people have issue connecting. LEMON is investigating. For now, use Firefox or change your DNS server)

Or, hide this message: temporarily or permanently

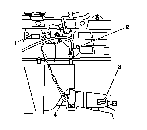
Blower Motor Resistor: Service and Repair



Blower Motor Resistor Replacement

Removal Procedure

1. Remove the instrument panel compartment.




2. Disconnect the blower motor resistor electrical connector.
3. Remove the 2 screws and the blower motor resistor (4) from the blower case.

Installation Procedure




1. Install the blower motor resistor (4) to the blower case. Secure with the 2 screws.
2. Connect the blower motor resistor electrical connector.
3. Install the I/P compartment.