Operation CHARM: Car repair manuals for everyone.
Manuals through 2025 now available!

Our trusted friends have launched a new website named LEMON, which has newer manuals. It also contains all the CHARM manuals.

LEMON is the spiritual successor to CHARM, I recommend you try it!

Link: lemon-manuals.la or lemon-manuals.org.ua

(Some people have issue connecting. LEMON is investigating. For now, use Firefox or change your DNS server)

Or, hide this message: temporarily or permanently

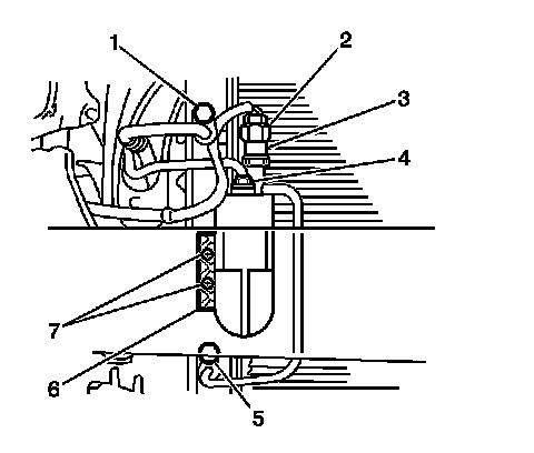
Receiver Dryer: Service and Repair



Receiver Dehydrator Replacement

Removal Procedure

1. Discharge and recover the refrigerant. Refer to Refrigerant Recovery and Recharging.




2. Remove the pressure switch (3) from the receiver (6).
3. Remove the bolt (4) and liquid tube from the receiver.
4. Remove the bolt (5) and tube from the condenser.
5. Remove the 2 screws (7) from the receiver.
6. Remove the receiver from the vehicle.

Installation Procedure

Important: Add 40 ml (1.3 fl oz) of refrigerant oil to the refrigeration system when installing a new condenser dryer.

1. Position the receiver into the vehicle.




2. Install the receiver (6) to the condenser. Install the 2 screws (7).

Notice: Refer to Fastener Notice.

3. Install the tube to the condenser. Secure with the bolt (5).

Tighten the bolt (5) to 5.4 N.m (48 lb in).

4. Install the liquid tube to the receiver. Secure with the bolt (4).

Tighten the bolt (4) to 5.4 N.m (48 lb in).

5. Install the pressure switch (3) to the receiver.
6. Evacuate and recharge the air conditioning system. Refer to Refrigerant Recovery and Recharging.
7. Operate the A/C system and test for refrigerant leaks. Refer to Leak Testing. Leak Testing