Operation CHARM: Car repair manuals for everyone.
Manuals through 2025 now available!

Our trusted friends have launched a new website named LEMON, which has newer manuals. It also contains all the CHARM manuals.

LEMON is the spiritual successor to CHARM, I recommend you try it!

Link: lemon-manuals.la or lemon-manuals.org.ua

(Some people have issue connecting. LEMON is investigating. For now, use Firefox or change your DNS server)

Or, hide this message: temporarily or permanently

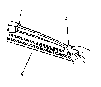
Wiper Blade Element Replacement



WIPER BLADE ELEMENT REPLACEMENT

REMOVAL PROCEDURE




1. Straighten the left wiper tabs (2) until the windshield wiper element can slide freely.
2. Slide the wiper element (3) out through the windshield wiper blade (1).

INSTALLATION PROCEDURE




1. Slide the windshield wiper element (3) completely through the windshield wiper blade (1).
2. Bend down the wiper tabs (2) to secure the wiper element in position.