Operation CHARM: Car repair manuals for everyone.
Manuals through 2025 now available!

Our trusted friends have launched a new website named LEMON, which has newer manuals. It also contains all the CHARM manuals.

LEMON is the spiritual successor to CHARM, I recommend you try it!

Link: lemon-manuals.la or lemon-manuals.org.ua

(Some people have issue connecting. LEMON is investigating. For now, use Firefox or change your DNS server)

Or, hide this message: temporarily or permanently

Harness Routing Views




Harness Routing Views

Forward Lamp




1 - G101
2 - Horn Assembly
3 - Hood Ajar Switch (AP3/AP8)
4 - Ambient Air Temperature Sensor
5 - G102
6 - X110
7 - Fog Lamp - Right Front (T96)
8 - Fog Lamp - Left Front (T96)
9 - Windshield Washer Fluid Pump
10 - Windshield Washer Fluid Level Switch
11 - Fuse Block - Underhood X3
12 - X109

Body Harness - Engine Compartment (Coupe)




1 - Right Front Strut Tower
2 - X102 (JL9/J67)
2 - Electronic Brake Control Module (EBCM) Connector (JL9/J67)
4 - X101 (JL9/J67)
5 - Left Front Strut Tower
6 - Fuse Block - Underhood X4
7 - Fuse Block - Underhood X2
8 - X108
9 - Engine Control Module (ECM) X1 (LZ9)
10 - G109

Body Harness Routing - Engine Compartment (without Coupe)




1 - Windshield Wiper Motor
2 - X101 (JL9/J67)
3 - Electronic Brake Control Module (EBCM)
4 - Fuse Block - Underhood X4
5 - Fuse Block - Underhood X2
6 - X108
7 - Engine Control Module (ECM) X1
8 - G109
9 - Inflatable Restraint Front End Sensor - Left
10 - Inflatable Restraint Front End Sensor - Right
11 - X102 (JL9/J67)
12 - A/C Refrigerant Pressure Sensor (C60)
13 - Brake Fluid Level Switch

Front of the Engine (LE5)




1 - Mass Air Flow (MAF) / Intake Air Temperature (IAT) Sensor Connector
2 - J101
3 - G106
4 - Fuse Block - Underhood X1
5 - X108
6 - X100
7 - J118
8 - G105
9 - X130

Rear of the Engine (LE5)




1 - X108
2 - G110
3 - J101
4 - Cylinder Head
5 - Vehicle Speed Sensor (VSS) Connector
6 - X100
7 - Fuse Block - Underhood X1

Body Harness Routing (Coupe and Convertible Similar)




1 - X319 (AY0)
2 - X351 (UE1)
3 - X304
4 - X300
5 - X308 (AY0)
6 - X208
7 - X206
8 - X203
9 - X500
10 - G303
11 - X214
12 - Body Control Module (BCM) X3
13 - X207
14 - X600
15 - G305
16 - G304
17 - X216
18 - X310
19 - X309 (AY0)
20 - X305
21 - G301
22 - X320 (AY0)
23 - Fuse Block - Rear X4
24 - Fuse Block - Rear X1
25 - G302

Headliner Harness (Coupe with CF5)




1 - Headliner
2 - Sunroof Control Module Connector (CF5)
3 - X351 (UE1)
4 - Fuse Block - Rear (X3)
5 - Vanity Mirror Lamp - Left Connector (DH6)

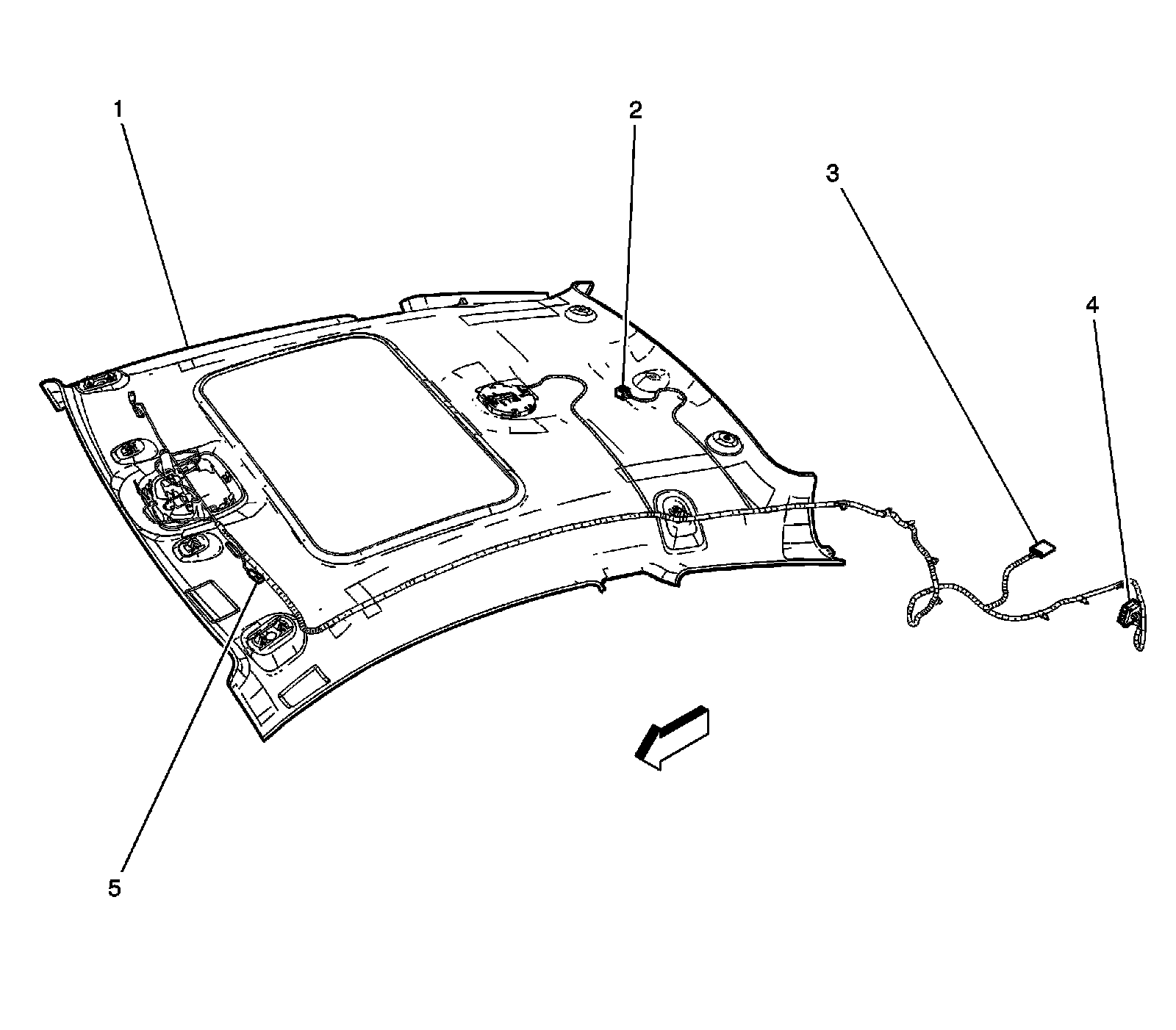
Headliner Harness (Sedan without CF5)




1 - Headliner
2 - Fuse Block - Rear X3
3 - X351 (UE1)
4 - X415 (C3Y)
5 - Vanity Mirror Lamp - Left Connector (DH6)
6 - Inside Rearview Mirror Connector (UE1)

Headliner Harness (Sedan with CF5)




1 - Vanity Mirror Lamp - Right Connector (DH6)
2 - Sunroof Module Connector (CF5)
3 - Fuse Block - Rear X3
4 - X351 (UE1)
5 - Vanity Mirror Lamp - Left Connector (DH6)
6 - Inside Rearview Mirror Connector (UE1)
7 - Headliner

Body Harness Routing (Sedan)




1 - Rear Compartment Lid Release Switch
2 - Center High Mounted Stop Lamp (CHMSL)
3 - Rear Compartment Courtesy Lamp
4 - Fuse Block - Rear X4
5 - Fuse Block - Rear X1
6 - Speaker - Left Rear
7 - X419 Body Harness to Roof Rail Inflatable Restraint Module - Left Hand (AY0)
8 - Rear Window Defogger Grid X1
9 - G302
10 - X351 Body Harness to Headliner Harness (UE1)
11 - Antenna Amplifier Module X1
12 - Coax AM/FM
13 - X413 Body Harness to Fuel Tank Harness
14 - X403 Body Harness to Wheel Speed Sensor (WSS) Jumper Harness - Right Rear /Left Rear
15 - G301
16 - X420 Body Harness to Roof Rail Inflatable Restraint Module - Right Hand (AY0)
17 - Digital Radio Receiver (U2K)
18 - Rear Window Defogger Grid X2
19 - Audio Amplifier Connectors (U85)
20 - Speaker - Right Rear
21 - Remote Control Door Lock Receiver (RCDLR) (AU0)
22 - Rear Compartment Lid Pulldown Actuator

Rear Lamp Harness (Coupe)




1 - Rear Fascia
2 - X402
3 - G403
4 - G401
5 - X401
6 - Fuse Block - Rear X2

Rear Fascia




1 - X402
2 - X416
3 - G401
4 - G403
5 - X401
6 - Fuse Block - Rear X1