Operation CHARM: Car repair manuals for everyone.
Manuals through 2025 now available!

Our trusted friends have launched a new website named LEMON, which has newer manuals. It also contains all the CHARM manuals.

LEMON is the spiritual successor to CHARM, I recommend you try it!

Link: lemon-manuals.la or lemon-manuals.org.ua

(Some people have issue connecting. LEMON is investigating. For now, use Firefox or change your DNS server)

Or, hide this message: temporarily or permanently

Part 3




Fuel System Description



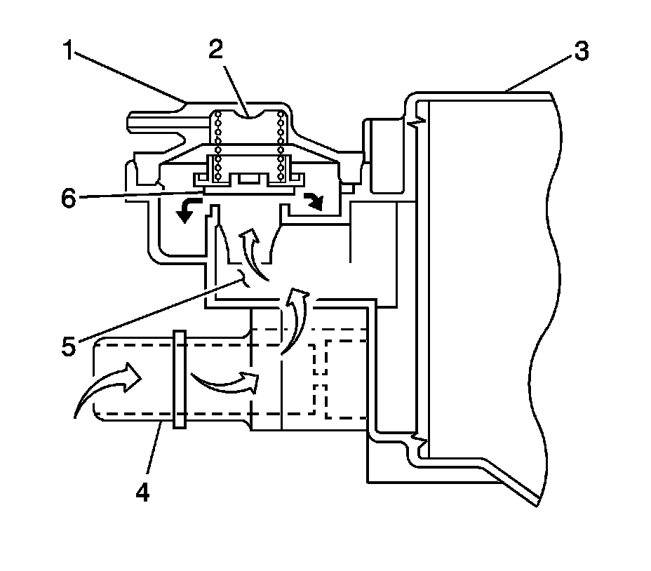
Fill Limiter Vent Valve (FLVV)




1 - FLVV
2 - Atmosphere Chamber
3 - EVAP Canister
4 - ORVR Vent Line Inlet Port
5 - Vapor Chamber
6 - Vent Control Valve

The fill limiter vent valve (FLVV) (1) is an integral part of the EVAP canister (3). The cross sectional view shows the path of fuel vapors passing through the valve directly into the EVAP canister. When the fuel filler cap is removed during refueling, the atmosphere chamber (2) fills with atmospheric pressure that has entered through the port from the fuel filler pipe. The pressure in the atmosphere chamber (2) opens the passage to the vapor chamber (5) by opening the vent control valve (6). Refueling causes the internal pressure in the fuel tank to increase, pushing fuel vapors into the ORVR port (4) and up through the vent control valve (6) into the EVAP canister (3). When the fuel tank is full, the tank vapor control valve (5) closes, sealing off the passage into the EVAP canister.

Accelerator Controls

An electronic throttle control (ETC) system or throttle actuator control (TAC) system is used to control the throttle valve opening. The accelerator pedal receives input from the driver and the accelerator pedal position (APP) sensors send this information to the PCM. The PCM commands the desired throttle valve opening to the TAC motor on the throttle body. For additional information on the operation of this system, refer to Throttle Actuator Control (TAC) System Description (Throttle Actuator Control (TAC) System Description).

Fuel Metering System

The function of the fuel metering system is deliver the correct amount of fuel to the engine under all operating conditions. Fuel is delivered to each cylinder by the fuel injectors. The fuel injectors are controlled sequentially by the powertrain control module (PCM). The PCM bases the control of the fuel injectors on several important engine parameters. These engine parameters include the following:

* Engine speed (RPM)
* Mass air flow (MAF)
* Engine coolant temperature (ECT)
* Intake air temperature (IAT)
* Throttle position (TP)
* Fuel control oxygen sensor input (HO2S 1)

Determining air density is critical to proper air/fuel management. Air density is primarily derived from the MAF sensor input. The MAF sensor measures the air volume and determines the air density. Larger volumes of air and denser air masses require additional fuel. The information from the MAF sensor is used by the PCM in order to modify the fuel injector pulse width.

Fuel Injector





The fuel injector (1) is an electromagnetic (solenoid) type injection nozzle which injects fuel into the intake port of the cylinder head according to the signals from the powertrain control module (PCM). There are 4 fuel injectors, one for each cylinder, located between the intake manifold and the fuel rail.

The PCM energizes the solenoid coil of the fuel injector (1), generating an electromagnet field that attracts the solenoid plunger (2). The needle valve, which is incorporated with the solenoid plunger (2), is opened by the movement of the solenoid plunger (2). The opening of the needle valve allows fuel that is under pressure to disperse through a 12-hole plate (3) into a cone shaped pattern. Because the stroke of the needle valve in the fuel injector is set constant, the amount of fuel injected at one time is determined by the pulse width injection time, the length of time the solenoid coil is energized.

Fuel Injection Operation

The powertrain control module (PCM) controls the amount of fuel the fuel injector supplies to each cylinder by controlling the ON time, or length of pulse, of each individual injector. The delivery timing of the fuel into the cylinder head intake port by the fuel injector is controlled by the PCM. The timing and pulse of the fuel injectors is carefully calculated with inputs from the various sensors so that a suitable air/fuel mixture is supplied to the engine for every driving condition.

There are 2 types of injection timing. One is synchronous injection, when fuel injection is synchronous with the ignition signal or the signal from the camshaft position (CMP) sensor. The other is asynchronous injection, when fuel injection takes place independently of the ignition signal or the signal from the CMP sensor.

The PCM first calculates the correct timing of the fuel injectors by factoring the engine speed and the air volume together. Then the PCM applies certain compensations that are based on the information provided by various sensors which detect the state of the engine and the current driving conditions.

Synchronous Injection

When starting the engine, the fuel injectors inject the fuel simultaneously and synchronously at every camshaft position (CMP) sensor signal. When the engine is starting at a cold state, the amount of fuel is determined by the engine coolant temperature (ECT) sensor and is divided and injected.

Once the engine is running, the fuel injection occurs in a cylinder only when the cylinder is in the exhaust stroke. The powertrain control module (PCM) detects the compression stroke of cylinder 1 through the CMP sensor signal.

Asynchronous Injection

Whenever a change in the throttle valve opening exceeds a specified value, as determined by the powertrain control module (PCM), additional fuel is injected simultaneously into the cylinders which are in the intake and exhaust strokes. This is in addition to the above synchronous injection and is not based on the ignition signal.

Engine Starting Enrichment

In order to improve starting performance, fuel enrichment during start up is carried out. For a certain time after the engine is started, the air/fuel mixture is enriched slightly in order to stabilize the engine speed. The amount of compensation varies depending on the engine coolant temperature as measured by the engine coolant temperature (ECT) sensor.

Engine Warm-Up Enrichment

When the engine is cold, additional fuel is added in order to ensure good driveability. The level of enrichment of the air/fuel mixture is gradually decreased until the engine coolant temperature (ECT) sensor reaches a specified value.

Acceleration Enrichment

During acceleration, the pulse of the fuel injectors is lengthened in order to deliver more fuel. The additional fuel required is relative to the engine coolant temperature. Acceleration Enrichment ensures smooth and reliable engine acceleration.

Power Enrichment

In order to provide maximum power during high engine load driving conditions, the air/fuel mixture is enriched when the throttle valve opening is more than a specified, powertrain control module (PCM) determined value.

System Voltage Compensation

A power supply system voltage drop will delay the mechanical operation of the fuel injector. The actual injector ON time becomes shorter when the system voltage decreases. In order to compensate for this, the fuel injector pulse width signal is lengthened.

Crank Signal

The crank signal is sent from the starter motor circuit. When the starter motor circuit is energized as the ignition switch is in the START position, a crank signal is supplied to the powertrain control module (PCM). The PCM increases the fuel injector pulse when receiving a voltage on the crank signal circuit. The slight increase in fuel provides quicker and smoother engine start-up. The crank signal is also used as an input for running certain engine control system diagnostics, such as the crankshaft position (CKP) sensor DTC P0335. The crank signal input can be monitored on a scan tool as the Starter Switch parameter.

Base Air/Fuel Ratio Compensation

The base air/fuel ratio may vary due to differences in individual engines and mileage. In order to compensate for such variations, feedback information is used to adjust the base air/fuel mixture to maintain the optimum air/fuel ratio.

Fuel Cutoff

Fuel cutoff occurs when the powertrain control module (PCM) stops fuel injection or turns OFF the fuel pump. Fuel cutoff is used during the following conditions:

* During deceleration, when the throttle valve is closed and engine speed is high, fuel injection is stopped so that unburned gas will not be exhausted. Fuel injection starts again when the engine speed decreases to less than 1,200 RPM.
* In order to prevent engine overrun, which adversely affects the engine, fuel injector delivery stops when the engine speed exceeds 6,800 RPM. Fuel delivery starts again when the engine speed decreases to less than 6,500 RPM.
* In order to minimize any possible fuel spillage during an air bag deployment event, the fuel pump is de-energized. The PCM receives a signal from the supplemental inflatable restraint (SIR) system and turns OFF the fuel pump relay. The relay is re-energized once the ignition switch is cycled OFF and then ON again.

Air/Fuel Ratio Feedback Compensation - Closed Loop Operation

In order to obtain the most efficient engine performance with a good balance of power and fuel economy, the air/fuel mixture must be kept as close to the theoretical air/fuel ratio of 14.7:1 as possible. Maintaining the 14.7:1 air/fuel ratio also provides efficient operation of the 3-way catalytic converter (TWC) and a high clarification rate of carbon monoxide (CO), hydrocarbons (HC), and nitrogen oxides (NOx) in the exhaust gas stream, In order to accomplish this, the powertrain control module (PCM) first compares the input voltage from the heated oxygen sensor 1 (HO2S 1) with a specified reference voltage.

The HO2S 1 sensor is a wide band or wide range design. As with all oxygen sensors, the wide band HO2S measures the amount of oxygen in the exhaust system, but provides more information than the typical switching style HO2S. The wide band sensor consists of an oxygen sensing cell, an oxygen pumping cell, and a heater. The exhaust gas sample passes through a diffusion gap between the sensing cell and the pumping cell. The PCM supplies a voltage to the HO2S and uses this voltage as a reference to the amount of oxygen in the exhaust system. An electronic circuit within the PCM controls the pump current through the oxygen pumping cell in order to maintain a constant voltage in the oxygen sensing cell. The PCM monitors the voltage variation in the sensing cell and attempts to keep the voltage constant by increasing or decreasing the amount of current flow, or oxygen ion flow, to the pumping cell. By measuring the amount of current required to maintain the voltage in the sensing cell, the PCM can determine the concentration of oxygen in the exhaust. The HO2S input signal is displayed as a voltage within the range of 1-5 volts, with a steady value of 3.2-3.3 volts equal to the air fuel ratio of 14.7:1. If the HO2S 1 input voltage is lower than the specified reference voltage, the PCM determines that the air/fuel ratio is richer than the theoretical air/fuel ratio and reduces the fuel. If the input voltage from the HO2S 1 is higher than the specified reference voltage, the PCM determines that the air/fuel ratio is leaner and increases the fuel. By repeating these operations, the PCM can adjust the air/fuel ratio in order to be closer to the theoretical air/fuel ratio. Control of the fuel delivery system as just described is known as Closed Loop operation.





The Closed Loop fuel control operation will not take place under any of the following conditions:

* At engine start up
* When the fuel injection is increased just after engine start up
* When the engine coolant temperature (ECT) sensor is indicating a low coolant temperature
* When the engine is operating under a high demand, such as at wide open throttle (WOT)
* During fuel cutoff
* When the HO2S 1 is cold-Open Loop operation

Control of the air supply that is mixed with the metered fuel is detailed in the description of the throttle actuator control (TAC) system and the air intake system. Refer to Air Intake System Description (Air Intake System Description).