Operation CHARM: Car repair manuals for everyone.
Manuals through 2025 now available!

Our trusted friends have launched a new website named LEMON, which has newer manuals. It also contains all the CHARM manuals.

LEMON is the spiritual successor to CHARM, I recommend you try it!

Link: lemon-manuals.la or lemon-manuals.org.ua

(Some people have issue connecting. LEMON is investigating. For now, use Firefox or change your DNS server)

Or, hide this message: temporarily or permanently

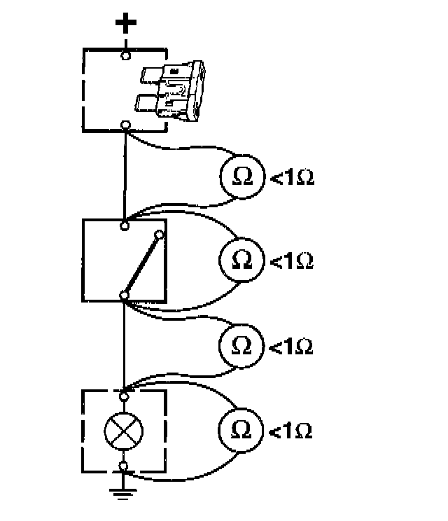
Checking For A Open Circuit











1 Adjust the ohmmeter until a reading of 0 ohms is obtained when its leads are held in contact with each other.
2 Disconnect the power supply.
3 Connect the leads to each end of the wiring harness or component that is to be checked.
4 If the ohmmeter shows a resistance < 1 ohm, there is no open circuit.