Operation CHARM: Car repair manuals for everyone.
Manuals through 2025 now available!

Our trusted friends have launched a new website named LEMON, which has newer manuals. It also contains all the CHARM manuals.

LEMON is the spiritual successor to CHARM, I recommend you try it!

Link: lemon-manuals.la or lemon-manuals.org.ua

(Some people have issue connecting. LEMON is investigating. For now, use Firefox or change your DNS server)

Or, hide this message: temporarily or permanently

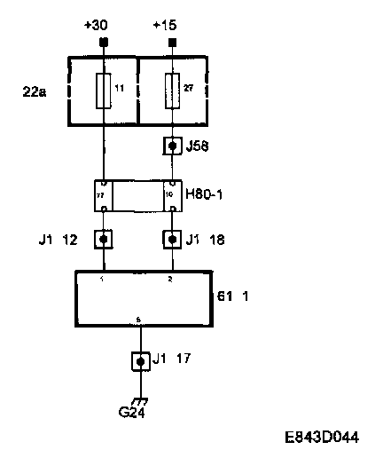
Control Module,Inputs, Outputs, Bus, Power Supply and Ground









^ Battery voltage +30
^ Battery voltage +15
^ Ground
^ Potentiometers
^ Switch, tilt down


Control Module Inputs, Bus







^ Memory function (memory store button + memory buttons 1 2 or 3) (On/Off) from PSM
^ Memory buttons 13 (1, 2 or 3) from PSM
^ Reverse gear (On/Off) from DICE
^ Diagnostic communication
^ Steering wheel location from TWICE


Control Module Outputs







^ Power supply to potentiometers
^ Mirror motors


Control Module Outputs, bus







^ Diagnostic communication


Control Module







The Power Mirror Memory (PMM) control module is located behind the glove box. It is connected to the system components via a 20 pin connector. The motors and potentiometers are controlled from the control module.
The PMM control module is connected to the bus and receives, processes and outputs information (communicates) via the bus with other Systems (control modules) in the car that are connected to the bus.

The control module controls the following functions:
^ Door mirror position memory settings.
^ Operating the door mirrors to the stored position.
^ Tilting the passenger door mirror when reverse gear is engaged and the tilt-down button is pressed.
^ Diagnostic tool communication.
^ Communication with the I bus


NOTE: If B+ is disconnected, the programmed settings will be retained in the control module.


Diagnostics
The control module monitors its internal functions and the components in the PMM system. In the event of an internal fault in the control module, diagnostic trouble code B1605 is generated and neither of the door mirrors can be operated with the seat's memory buttons or the separate door mirror switches.

Control Module Power Supply and Ground







Battery voltage +30
+ 30 power supply, fed via fuse 11 to control module pin 1.

Battery voltage +15
+15 power supply, fed via fuse 27 to control module pin 2.

Ground







The control module is grounded via pin 8 to grounding point G24.