Operation CHARM: Car repair manuals for everyone.
Manuals through 2025 now available!

Our trusted friends have launched a new website named LEMON, which has newer manuals. It also contains all the CHARM manuals.

LEMON is the spiritual successor to CHARM, I recommend you try it!

Link: lemon-manuals.la or lemon-manuals.org.ua

(Some people have issue connecting. LEMON is investigating. For now, use Firefox or change your DNS server)

Or, hide this message: temporarily or permanently

Control Module Inputs, Outputs, Bus, Power Supply and Ground



Control module inputs





^ Wheel speed signal from ABS (547)
^ ABS (ANTI LOCK) warning lamp from ABS (547)
^ AIRBAG warning lamp from SRS/Airbag (331)
^ AIRBAG 2 warning lamp (central warning lamp) (331)
^ Charge warning lamp (2)
^ Lights-on indicator lamp from light switch (10)
^ Main beam indicator lamp from main beam relay (8a)





^ Battery voltage (+30 circuit) (1)
^ Battery voltage (+15 circuit) (20)
^ Ground connection (G41S)
^ Engine oil pressure warning lamp from oil pressure sensor (44)
^ Foot brake warning lamp from brake fluid level sensor (42)
^ Handbrake warning lamp (43)
^ Fuel level from fuel level sensor (46)
^ Low fuel level indicator lamp (46)

Control module inputs, bus





^ Engine speed information from Trionic
^ Coolant temperature from Trionic
^ Fuel Consumed Since Start from Trionic
^ Rheostat value from SID (541)
^ Night Panel rheostat from SID (541)
^ NIGHT PANEL from SID (541)
^ Display lighting level from SID (541)
^ Light intensity in compartment from SID (541)
^ INFO DISPL indicator lamp from SID (541)
^ Steering wheel position from TWICE (632)





^ Selector lever position from TCM (502)
^ CHECK ENGINE indicator lamp from Trionic
^ CHECK GEARBOX indicator lamp from TCM (502)
^ SPORT indicator lamp from TCM (502)
^ WINTER indicator lamp from TCM (502)
^ "Door open" indicator lamp from TWICE (632)
^ Indicator lamp for LH direction indicators from DICE (628)
^ Indicator lamp for RH direction indicators from DICE (628)
^ Rear fog lights indicator lamp from DICE (628)
^ CRUISE indicator lamp from Trionic
^ Shift-up indicator lamp from Trionic
^ ABS indicator lamp from TC/ABS (352)
^ TCS OFF indicator lamp from TC/ABS (382)
^ TCS indicator lamp from TC/ABS (382)

Control module outputs, bus





^ Wheel speed information.
^ Odometer reading used by SID (541)
^ Fuel level used by SID (541), Trionic
^ Central warning lamp acoustic signal used by SID (541)

Control module





The main instrument unit consists of three main components, each of which is replaceable:
^ Instrument unit
^ Control module (electronic unit MIU)
^ Odometer display

The control module is integrated into the main instrument unit and has two connectors, one 12-pin (K12) and one 20-pin (K20). The control module receives information from its own sensors and switches as well as from other systems. It processes the information and uses it to control instruments and lamps. Certain information is put on the bus.

When a fault occurs, the control module stores the diagnostic trouble code. In case of replacement, a control module for that specific car must be ordered and its programming will then be carried out at Saab Automobile. The odometer reading stored in the old control module and shown on the display must be programmed into the new control module.

The instrument unit contains gauges and meters controlled by its own control module on the basis of information received from other systems as well as its own sensors. Warning and indicator lamps which are controlled by their own sensors/switches as well as control modules from other systems. All the warning lamps, indicator lamps and light bulbs (not LEDs) are replaceable. The odometer and tripmeter display is one unit with two number registers, one six-digit for the mileometer and a four digit for the tripmeter.

The control module stores the distance driven and displays it. There is a lamp in the display which is replaceable.

Diagnostics
If an internal fault occurs in the main instrument unit's control module, diagnostic trouble code B1605 is set.

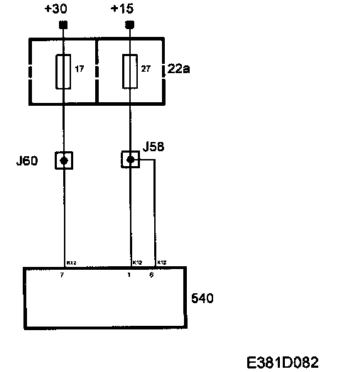
Power supply

Battery voltage (+30 circuit)









Current (+30 circuit) is supplied to pin 7 (K12) of the main instrument unit via fuse 17. The control module uses current from the +30 circuit for its memory.

Battery voltage (+15 circuit)
Current (+15 circuit) is supplied to pin 1 (K12) and pin 6 (K12) of the main instrument unit via fuse 27.

The main instrument unit is activated by current from the +15 circuit.

Diagnostics
If +30 is missing, the tripmeter will reset each time the ignition is turned off.
If no +15 current is present, the main instrument unit will not be "woken up". The engine will not start as bus communication has not been "awakened".

The function has no diagnostics.

Ground









The main instrument unit is grounded through pin 2 (K12) and pin 3 (k12) to grounding point G41S. The grounding points are internally connected.

Diagnostics
If no ground connection is present, the warning lamps, etc. that are grounded independently of the main instrument unit will still work (e.g. ABS warning lamp). No other functions will work.

The function has no diagnostics.