Operation CHARM: Car repair manuals for everyone.
Manuals through 2025 now available!

Our trusted friends have launched a new website named LEMON, which has newer manuals. It also contains all the CHARM manuals.

LEMON is the spiritual successor to CHARM, I recommend you try it!

Link: lemon-manuals.la or lemon-manuals.org.ua

(Some people have issue connecting. LEMON is investigating. For now, use Firefox or change your DNS server)

Or, hide this message: temporarily or permanently

Compensation







The calculated basic fuel quantity makes the engine run perfectly under normal conditions, i.e. as long as it is warm and the load or engine speed does not change. Occasionally, however, the air/fuel mixture must be corrected so that the engine will run smoothly and emissions will be kept low under all conditions.
The basic fuel quantity is multiplied by a correction factor that is normally 1.00. If the correction factor is changed to, for example, 1.01, then the fuel quantity will be increased by 1%. If the correction factor is changed to 0.98 instead, then the fuel quantity will be reduced by 2%. Closed loop is usually inactive if the correction factor is not 1.00, as the compensation would then be corrected by the closed loop and would not have any effect.

After start









Directly after starting the engine, the correction factor is just over 1 and subsequently drops to 1.00. How far above 1 the correction factor reaches and how long it takes to return to 1.00 depends on the engine coolant temperature. This function is called the choke on cars with carburettor engines. Closed loop starting conditions are such that fuel enrichment after starting has just dropped to 1.00 when closed loop starts.

Load changes









During rapid load increases, the mg air/combustion increases quickly and it is well known that a petrol engine then requires a richer mixture. This is because the pressure increase in the intake manifold results in fuel being deposited on the walls, the so-called wet film increases. The fuel quantity that is lost here must be replaced by a slightly greater injection quantity, which is achieved by increasing the correction factor by a few percentage points. For example, the correction factor can be increased from 1 .00 to 1.03, which gives a 3% increase in the fuel quantity.
As soon as the load increase ceases, the correction factor will return to its original value.
During a load decrease, the function is the opposite. The wet film deposited on the walls of the intake manifold quickly vaporize as the pressure drops. The injected quantity of fuel must then be reduced so that emissions and fuel economy do not deteriorate. This is achieved by reducing the correction factor by a few percentage points. For example, the correction factor can be reduced from 1.00 to 0.96, which gives a 4% reduction in the fuel quantity.
When the engine coolant temperature is below 40 °C, the closed loop will be disabled during load changes (if it was active). The reason for this is that the closed loop would otherwise compensate. When the engine coolant temperature exceeds 70 °C, the closed loop will be active during load changes, as the fuel correction is then so small that the compensation would not affect the running of the engine. The amount that the correction factor is moved from 1.00 in connection with load changes depends on how fast the air mass/combustion changes and on the engine coolant temperature.
The described function corresponds to the accelerator pump or damper piston on cars with carburettor engines.

Knocking









If the engine is knocking, it is corrected by retarding the ignition for the cylinder in question. If knocking persists despite the retardation, the correction factor will be increased. Closed loop will then be deactivated (if it was active) as it would otherwise counter-compensate.

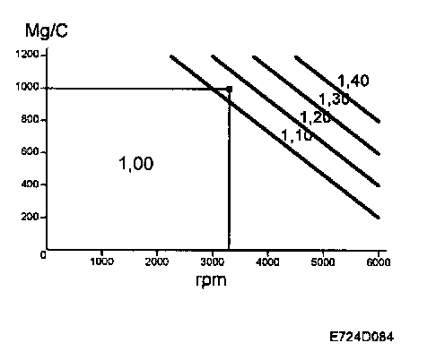
Full-load enrichment









When the engine load and speed has reached a certain limit, the correction factor will gradually increase as the load or engine speed increases further. At the same time, the closed loop will be de-activated (if it was active) as it would otherwise counter-compensate. This is to ensure that all the air is consumed during combustion and to keep the combustion temperature under control. The result is increased engine torque and decreased thermal load.