Operation CHARM: Car repair manuals for everyone.
Manuals through 2025 now available!

Our trusted friends have launched a new website named LEMON, which has newer manuals. It also contains all the CHARM manuals.

LEMON is the spiritual successor to CHARM, I recommend you try it!

Link: lemon-manuals.la or lemon-manuals.org.ua

(Some people have issue connecting. LEMON is investigating. For now, use Firefox or change your DNS server)

Or, hide this message: temporarily or permanently

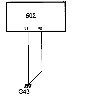
Control Module Ground


Part 1 Of 2:





Part 2 Of 2:






The control module is grounded at grounding point G 43 through pins 31 and 32. The grounding points are connected internally.


Diagnostics
If there is no ground connection, communication with the TCM will not be possible. No diagnostic trouble code is generated. TCM in Limp-Home mode.