Operation CHARM: Car repair manuals for everyone.
Manuals through 2025 now available!

Our trusted friends have launched a new website named LEMON, which has newer manuals. It also contains all the CHARM manuals.

LEMON is the spiritual successor to CHARM, I recommend you try it!

Link: lemon-manuals.la or lemon-manuals.org.ua

(Some people have issue connecting. LEMON is investigating. For now, use Firefox or change your DNS server)

Or, hide this message: temporarily or permanently

Rear Subframe Mount: Service and Repair

Rear subframe bush, replacement

To remove

1. Remove the subframe, see Subframe, 4WD or Subframe.
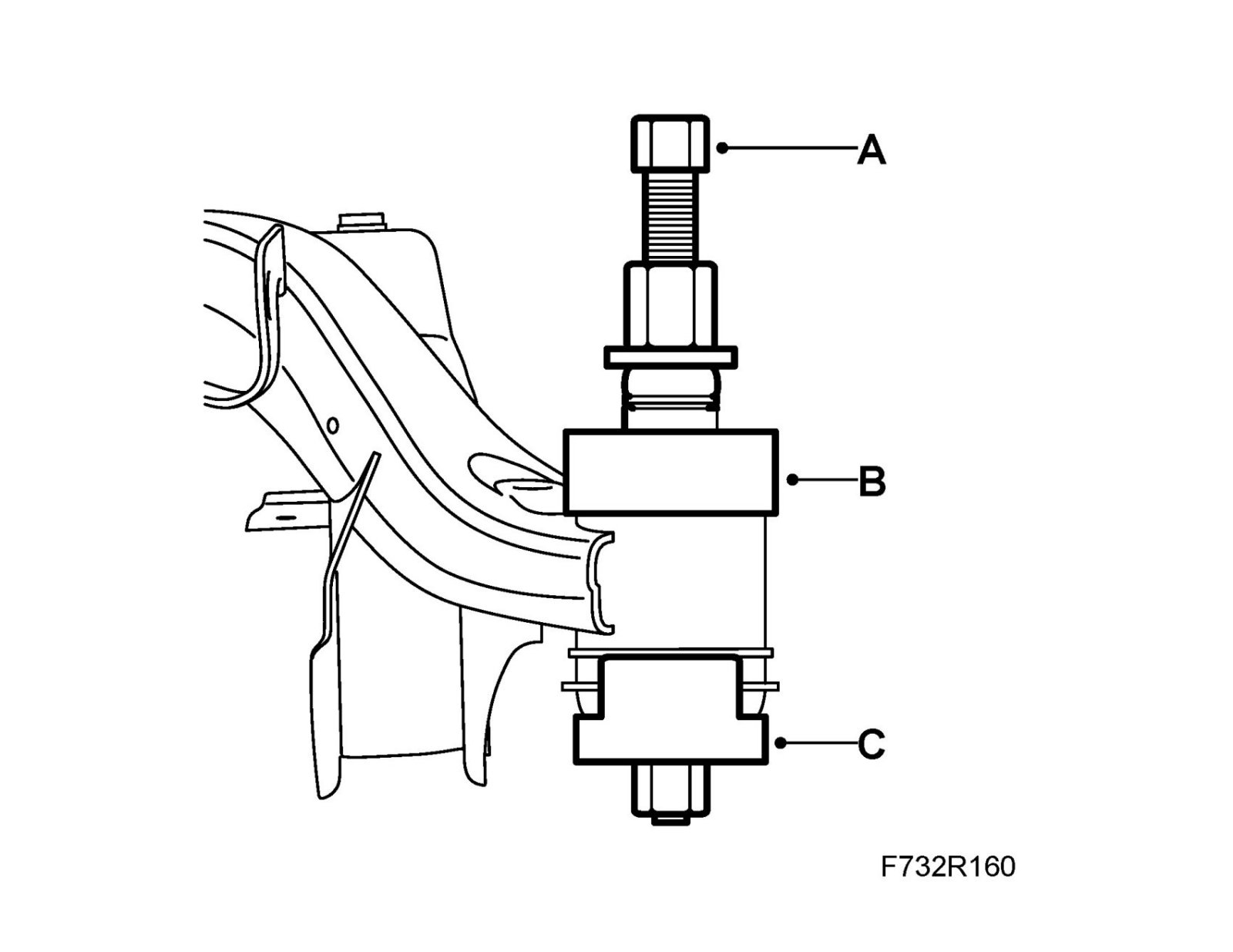
2. Press out the bush using the pull rod (A) from 89 96 779 Set of press sleeves, front assembly (or a hydraulic press) and 89 96 928 Removal tool, rear subframe bushes (B).





To fit

1. Fit the bush with washer (A) in the longitudinal direction of the car.





2. Press out the bush using the pull rod (A) from 89 96 779 Set of press sleeves, front assembly (or a hydraulic press), 89 96 910 Fitting tool, rear subframe bushes (B), and CH-49233 Press tool (C).





3. Fit the subframe. See Subframe, 4WD or Subframe.