Operation CHARM: Car repair manuals for everyone.
Manuals through 2025 now available!

Our trusted friends have launched a new website named LEMON, which has newer manuals. It also contains all the CHARM manuals.

LEMON is the spiritual successor to CHARM, I recommend you try it!

Link: lemon-manuals.la or lemon-manuals.org.ua

(Some people have issue connecting. LEMON is investigating. For now, use Firefox or change your DNS server)

Or, hide this message: temporarily or permanently

Transfer Case

Transfer Case Disassembled View

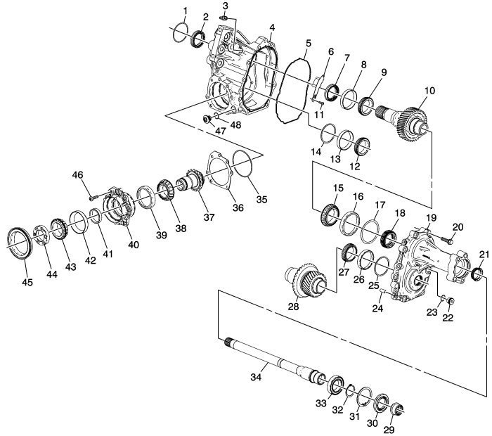
Transfer Case Components (MXE)





(1) Transmission-to-Transfer Case O-ring Seal
(2) Input Shaft Front (outer) Seal
(3) Transfer Case Vent Hose Connector
(4) Transfer Case Housing
(5) Transfer Case Rear Extension Housing-to-Transfer Case Seal
(6) Transfer Case Vent Baffle
(7) Input Shaft Front (inner) Seal
(8) Input Shaft Front Bearing Race
(9) Input Shaft Front Bearing
(10) Input shaft
(11) Transfer Case Vent Baffle Bolt
(12) Idler Shaft Front Bearing
(13) Idler Shaft Front Bearing Race
(14) Idler Shaft Front Bearing Shim
(15) Input Shaft Rear Bearing
(16) Input Shaft Rear Bearing Race
(17) Input Shaft Rear Bearing Shim
(18) Input Shaft Bearing Retainer Rear Seal
(19) Rear Extension Housing
(20) Transfer Case-to-Rear Extension Housing Bolt
(21) Intermediate Shaft Seal
(22) Transfer Case Fill Plug
(23) Transfer Case Fill Plug Sealing Washer
(24) Transfer Case-to-Rear Extension Housing Locating Pin
(25) Idler Shaft Rear Bearing Shim
(26) Idler Shaft Rear Bearing Race
(27) Idler Shaft Rear Bearing
(28) Idler Shaft
(29) Idler Gear Shaft Rear Seal
(30) Idler Gear Shaft
(31) Idler Gear Shaft Front Seal
(32) Transfer Case Seal
(33) Intermediate Shaft Dirt Deflector
(34) Intermediate Shaft Assembly Retaining Ring
(35) Intermediate Shaft Bearing Retaining Ring
(36) Intermediate Shaft Bearing
(37) Intermediate Shaft
(38) Rear Output Shaft Housing O-ring Seal
(39) Rear Output Shaft Shim
(40) Rear Output Shaft
(41) Rear Output Shaft Bearing
(42) Rear Output Shaft Bearing Race
(43) Rear Output Shaft Housing
(44) Rear Output Shaft Bearing Spacer
(45) Rear Output Shaft Bearing Race
(46) Rear Output Shaft Bearing
(47) Rear Output Drive Gear Nut
(48) Rear Output Shaft Seal
(49) Rear Output Shaft Housing Bolt
(50) Transfer Case Drain Plug
(51) Transfer Case Drain Plug Sealing Washer
(52) Transfer Case-to-Transmission Locating Bushing

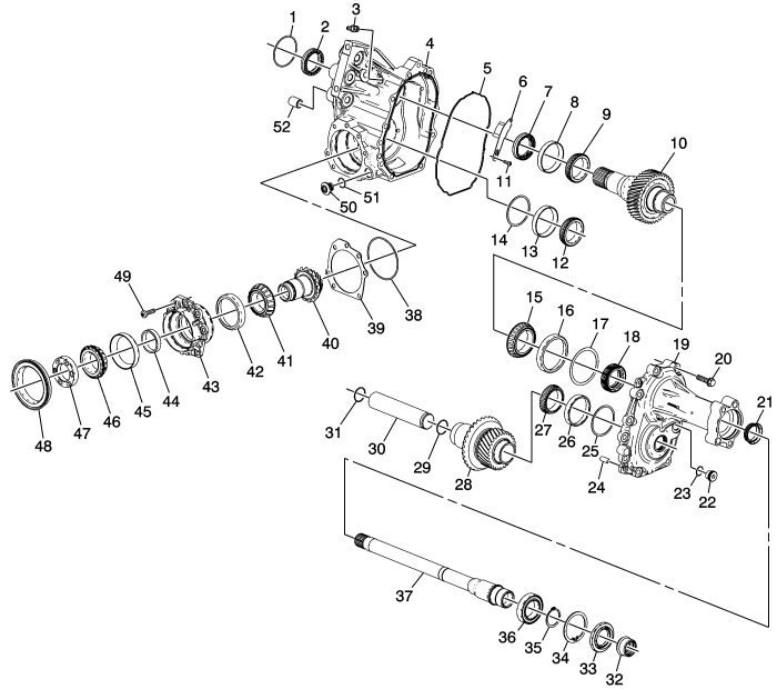
Transfer Case Components (MH4)





(1) Transmission-to-Transfer Case O-ring Seal
(2) Input Shaft Front (outer) Seal
(3) Transfer Case Vent Hose Connector
(4) Transfer Case Housing
(5) Transfer Case Rear Extension Housing-to-Transfer Case Seal
(6) Transfer Case Vent Baffle
(7) Input Shaft Front (inner) Seal
(8) Input Shaft Front Bearing Race
(9) Input Shaft Front Bearing
(10) Input shaft
(11) Transfer Case Vent Baffle Bolt
(12) Idler Shaft Front Bearing
(13) Idler Shaft Front Bearing Race
(14) Idler Shaft Front Bearing Shim
(15) Input Shaft Rear Bearing
(16) Input Shaft Rear Bearing Race
(17) Input Shaft Rear Bearing Shim
(18) Input Shaft Bearing Retainer Rear Seal
(19) Rear Extension Housing
(20) Transfer Case-to-Rear Extension Housing Bolt
(21) Intermediate Shaft Seal
(22) Transfer Case Fill Plug
(23) Transfer Case Fill Plug Sealing Washer
(24) Transfer Case-to-Rear Extension Housing Locating Pin
(25) Idler Shaft Rear Bearing Shim
(26) Idler Shaft Rear Bearing Race
(27) Idler Shaft Rear Bearing
(28) Idler Shaft
(29) Transfer Case Seal
(30) Intermediate Shaft Dirt Deflector
(31) Intermediate Shaft Assembly Retaining Ring
(32) Intermediate Shaft Bearing Retaining Ring
(33) Intermediate Shaft Bearing
(34) Intermediate Shaft
(35) Rear Output Shaft Housing O-ring Seal
(36) Rear Output Shaft Shim
(37) Rear Output Shaft
(38) Rear Output Shaft Bearing
(39) Rear Output Shaft Bearing Race
(40) Rear Output Shaft Housing
(41) Rear Output Shaft Bearing Spacer
(42) Rear Output Shaft Bearing Race
(43) Rear Output Shaft Bearing
(44) Rear Output Drive Gear Nut
(45) Rear Output Shaft Seal
(46) Rear Output Shaft Housing Bolt
(47) Transfer Case Drain Plug
(48) Transfer Case Drain Plug Sealing Washer

Transfer Case Seal View





(1) Transfer Case-to-Transmission Seal

Transfer Case Mounting (MXE)





(1) Transfer Case
(2) Transfer Case Bracket Bolt
(3) Transfer Case-to-Transmission Bolt
(4) Transfer Case Bracket
(5) Transfer Case Bracket Bolt
(6) Transfer Case Bracket Bolt

Transfer Case Mounting (MH4)





(1) Transaxle Brace
(2) Transaxle Brace Bolt
(3) Transfer Case Bracket-to-Engine Bolt
(4) Transfer Case Bracket Bolt
(5) Transfer Case Bracket
(6) Transfer Case
(7) Transfer Case-to-Transmission Bolt
(8) Transaxle Brace-to-Engine Bolt

Vent Hose Assembly





(1) Vent Hose Assembly
(2) Strap
(3) Bolt