Operation CHARM: Car repair manuals for everyone.
Manuals through 2025 now available!

Our trusted friends have launched a new website named LEMON, which has newer manuals. It also contains all the CHARM manuals.

LEMON is the spiritual successor to CHARM, I recommend you try it!

Link: lemon-manuals.la or lemon-manuals.org.ua

(Some people have issue connecting. LEMON is investigating. For now, use Firefox or change your DNS server)

Or, hide this message: temporarily or permanently

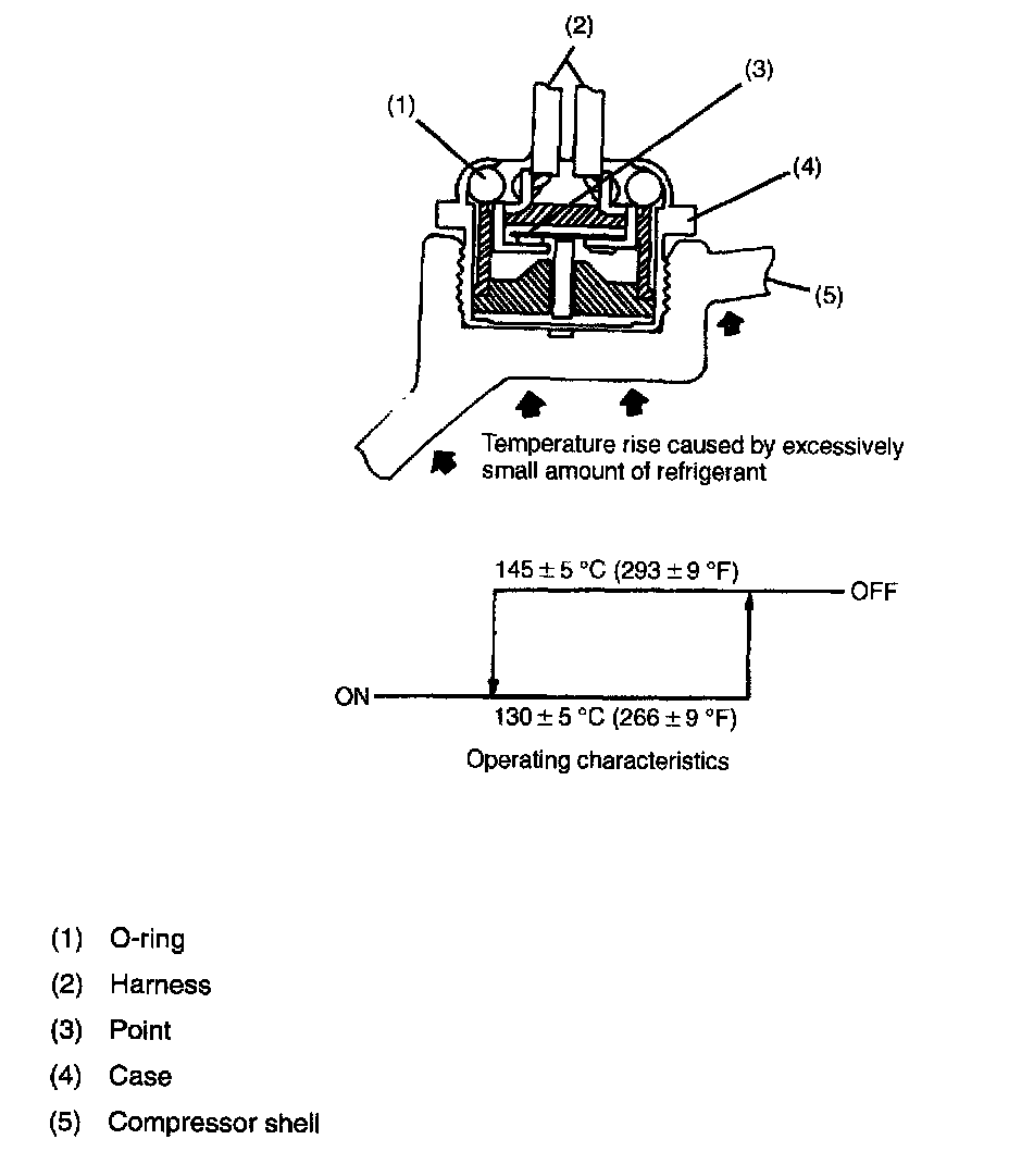
Compressor Saving Sensor

COMPRESSOR SAVING SENSOR




The compressor saving sensor, mounted on the surface of the compressor case, forces the compressor to the OFF state when the gas temperature rises or the case surface temperature becomes abnormally high due to poor lubrication.

When the compressor case surface temperature falls, the compressor restarts.