Operation CHARM: Car repair manuals for everyone.
Manuals through 2025 now available!

Our trusted friends have launched a new website named LEMON, which has newer manuals. It also contains all the CHARM manuals.

LEMON is the spiritual successor to CHARM, I recommend you try it!

Link: lemon-manuals.la or lemon-manuals.org.ua

(Some people have issue connecting. LEMON is investigating. For now, use Firefox or change your DNS server)

Or, hide this message: temporarily or permanently

Alignment: Service and Repair





WHEEL ALIGNMENT PROCEDURES





Check, adjust and/or measure wheel alignment in accordance with procedures indicated in figure.

INSPECTION AND ADJUSTMENT

1. WHEEL ARCH HEIGHT (FRONT AND REAR)





a. Adjust tire pressure to specifications.
b. Set vehicle under "curb weight" conditions. (Empty luggage compartment, install spare tire, jack, service tools, and top up fuel tank.)
c. Set steering wheel in a wheel-forward position.
d. Suspend thread from wheel arch (point "A" in figure) to determine a point directly above center of spindle.
e. Measure distance between measuring point "A" and center of spindle.

2. CAMBER (FRONT AND REAR)

^ Inspection
a. Place front wheel on turning radius gauge. Make sure ground contacting surfaces of front and rear wheels are set at the same height.





b. Set Special Tool (ST) into the center of the wheel, and then install the wheel alignment gauge.
ST 927380000 ADAPTER
NOTE: Refer to Specifications / Mechanical for the camber values.

^ Front Camber Adjustment
a. Loosen two self-locking nuts located at lower front portion of strut.

CAUTION:
^ When adjusting bolt needs to be loosened or tightened, hold its head with a wrench and turn self-locking nut.
^ Discard loosened self-locking nut and replace with a new one.





b. Turn camber adjusting bolt so that camber is set at the specification.

NOTE: Moving the adjusting bolt by one scale graduation changes camber by approximately 0°10'.





c. Tighten the two self-locking nuts. Tightening torque: 152 ± 20 Nm (112 ± 14 ft. lbs.).

3. CASTER (FRONT)

^ Inspection
a. Place front wheel on turning radius gauge. Make sure ground contacting surfaces of front and rear wheels are set at the same height.





b. Set Special Tool (ST) into the center of the wheel, and then install the wheel alignment gauge.
ST 927380000 Adapter
NOTE: Refer to Specifications / Mechanical for the caster value.

4. FRONT WHEEL TOE-IN

^ Inspection





a. Using a toe gauge, measure front wheel toe-in.

Toe-in: 0 ± 3 mm (0 ± 0.12 inch).

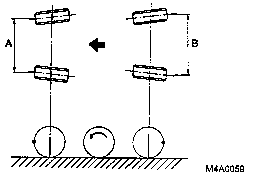
b. Mark rear sides of left and right tires at height corresponding to center of spindles and measure distance "B" between marks.
c. Move vehicle forward so that marks line up with front sides at height corresponding to center of spindles.
d. Measure distance "A" between left and right marks. Toe-in can then be obtained by the following equation: B - A = Toe-in.

^ Adjustment





a. Loosen the left and right side steering tie-rods lock nuts.
b. Turn the left and right tie rods equal amounts until the toe-in is at the specification. Both the left and right tie-rods are right-hand threaded. To increase toe-in, turn both tie-rods clockwise equal amounts (as viewed from the inside of the vehicle).
c. Tighten tie-rod lock nut. Tightening torque: 83 ± 5 Nm (61.5 ± 3.6 ft. lbs.).

CAUTION: Correct tie-rod boot, if it is twisted.

NOTE: Check the left and right wheel steering angle is within specifications.

5. REAR WHEEL TOE-IN

^ Inspection





a. Using a toe-in gauge, measure rear wheel toe-in.

Toe-in: 0 ± 3 mm (0 ± 0.12 inch).

b. Mark rear sides of left and right tires at height corresponding to center of spindles and measure distance "B" between marks.
c. Move vehicle forward so that marks line up with front sides at height corresponding to center of spindles.
d. Measure distance "A" between left and right marks. Toe-in can then be obtained by the following equation: B - A = Toe-in.

^ Adjustment





a. Loosen self-locking nut on inner side of rear lateral link.

CAUTION:
^ When loosening or tightening adjusting bolt, hold bolt head and turn self-locking nut.
^ Discard loosened self-locking nut and replace with a new one.





b. Turn adjusting bolt head until toe-in is at the specification.

NOTE: When left and right wheels are adjusted for toe-in at the same time, the movement of one scale graduation changes toe-in by approximately 3 mm (0.12 inch).

c. Tighten self-locking nut. Tightening torque: 98 ± 15 Nm (72 ± 11 ft. lbs.).

6. THRUST ANGLE

^ Inspection
a. Position vehicle on a level surface.
b. Move vehicle 3 to 4 meters directly forward.
c. Determine locus of both front and rear axles.





d. Measure distance "L" between center line of loci of the axles.

Thrust angle: Less than 20' when "L" is equal to or less than 15 mm (0.59 inch)

^ Adjustment
a. Make thrust angle adjustments by turning toe-in adjusting bolts of rear suspension equally in the same direction.
b. When one rear wheel is adjusted in a toe-in direction, adjust the other rear wheel equally in toe-out direction, in order to make thrust angle adjustment.
c. When left and right adjusting bolts are turned incrementally by one graduation in the same direction, the thrust angle of the AWD model will change approximately 10' ["L" is almost equal to 7.5 mm (0.295 inch)] and the thrust angle of the FWD model will change approximately 12' ["L" is almost equal to 9 mm (0.35 inch)].

Thrust angle: 0° ± 20'





NOTE: Thrust angle refers to a mean value of left and right rear wheel toe angles in relation to vehicle body center line. Vehicle is driven straight in the thrust angle direction while swinging in the oblique direction depending on the degree of the mean thrust angle.





Thrust angle: r = (a - b)/2
a: Right rear wheel toe angle
b: Left rear wheel toe angle

NOTE: Here, use only positive toe-in values from each wheel to substitute for a and b in the equation.

7. STEERING ANGLE

^ Inspection
a. Place vehicle on a turning radius gauge.
b. While depressing brake pedal, turn steering wheel fully to the left and right. With steering wheel held at each fully turned position, measure both the inner and outer wheel steering angle.

Steering angle:
Inner wheel 37.4° ± 1.5°
Outer wheel 32.5° ± 1.5°

^ Adjustment





a. Turn tie-rod to adjust steering angle of both inner and outer wheels.

CAUTION:
^ Check toe-in.
^ Correct boot if it is twisted.