Manuals through 2025 now available!
Our trusted friends have launched a new website named LEMON, which has newer manuals. It also contains all the CHARM manuals.
LEMON is the spiritual successor to CHARM, I recommend you try it!
Link:
lemon-manuals.la or
lemon-manuals.org.ua
(Some people have issue connecting. LEMON is investigating. For now, use Firefox or change your DNS server)
Or, hide this message:
temporarily or
permanently
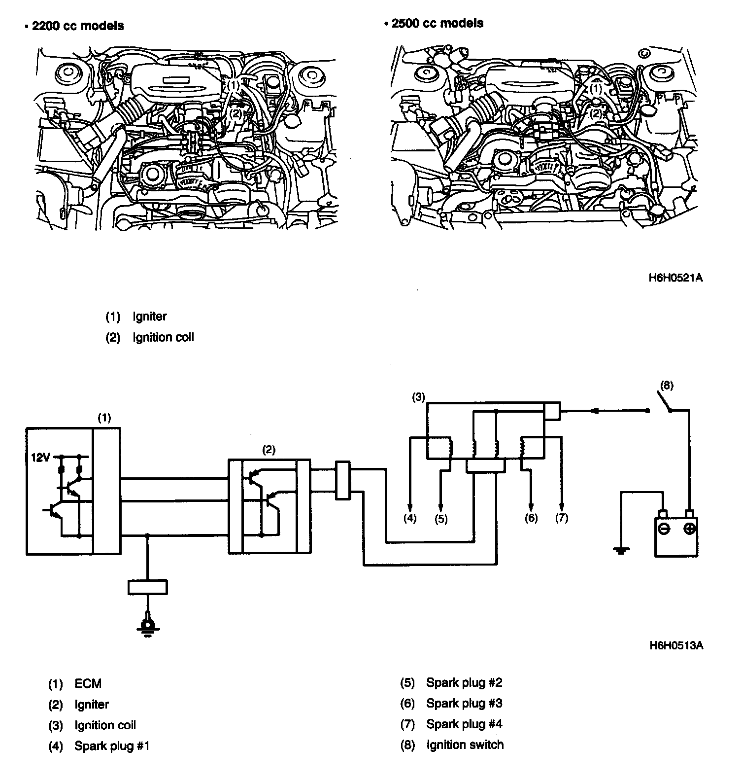
Ignition Control Module: Description and Operation
Ignition Coil and IgniterThe ignition system is of a 2-cylinder simultaneous ignition design. In response to the signal from the ECM, the igniter supplies another signal to the ignition coil to ignite a pair of cylinders #1 and #2 or #3 and #4 simultaneously.