Part 1 of 2
ELECTRICAL COMPONENTS LOCATIONENGINE (2200cc FWD MODEL)
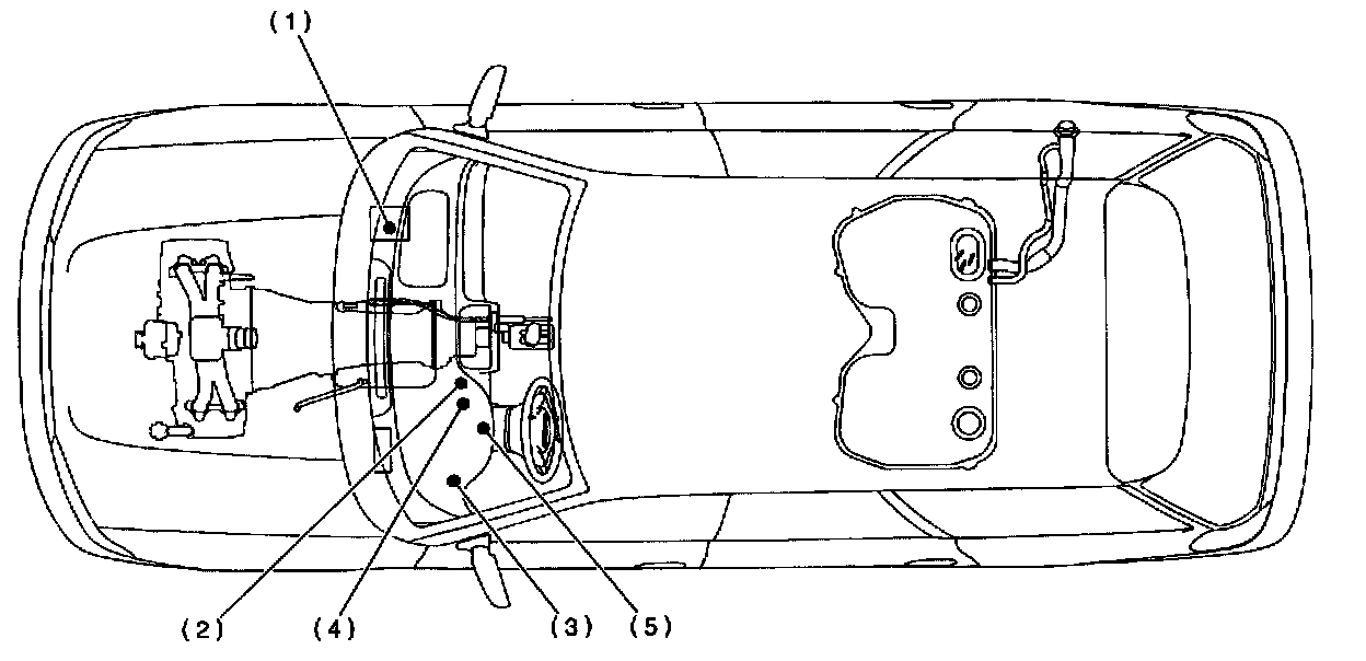
1. MODULE
(1) Engine control module (ECM)
(2) Data link connector (for Subaru select monitor only)
(3) Data link connector (for Subaru select monitor and OBD-II general scan tool)
(4) Test mode connector
(5) CHECK ENGINE malfunction indicator lamp (MIL)
2. SENSOR
(1) Pressure sensor
(2) Mass air flow sensor
(3) Engine coolant temperature sensor
(4) Throttle position sensor
(5) Knock sensor
(6) Camshaft position sensor
(7) Crankshaft position sensor
(1) Front oxygen sensor
(2) Rear oxygen sensor
(3) Front catalytic converter
(4) Rear catalytic converter
3. SOLENOID VALVE, EMISSION CONTROL SYSTEM PARTS AND IGNITION SYSTEM PARTS
(1) Pressure sources switching solenoid valve
(2) Idle air control solenoid valve
(3) EGR valve (Except 2200 cc MT vehicles)
(4) EGR control solenoid valve (Except 2200 cc MT vehicles)
(5) Purge control solenoid valve
(6) Ignitor
(7) Ignition coil
(1) Inhibitor switch (AT vehicles only)
(2) Fuel pump
(3) Main relay
(4) Fuel pump relay
(5) Radiator main fan relay 1 (With A/C models only)
(6) Radiator main fan relay 2 (With A/C models only)
(7) Radiator sub fan relay 1 (With A/C models)
Main fan relay (Without A/C models)
(8) Radiator sub fan relay 2 (With A/C models only)
(9) Starter