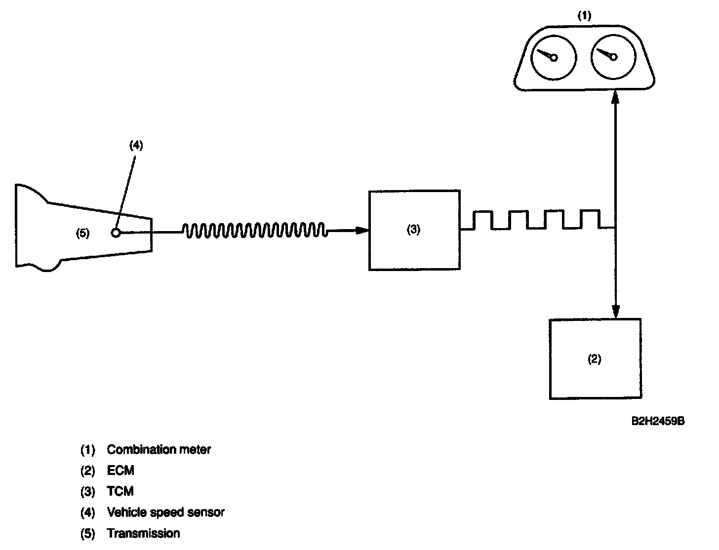
Vehicle Speed Sensor: Description and Operation
VEHICLE SPEED SENSORManual Transmission Models:
The vehicle speed sensor is mounted on the transmission.
The vehicle speed sensor generates a 4-pulse signal for every rotation of the front differential and send it to the ECM and the combination meter.
Automatic Transmission Models:
The vehicle speed sensor is mounted on the transmission.
The vehicle speed sensor generates a 16-pulse signal for every rotation of the front differential and send it to the transmission control module (TCM). The signal sent to the TCM is converted there into a 4-pulse signal, and then sent to the ECM and the combination meter.
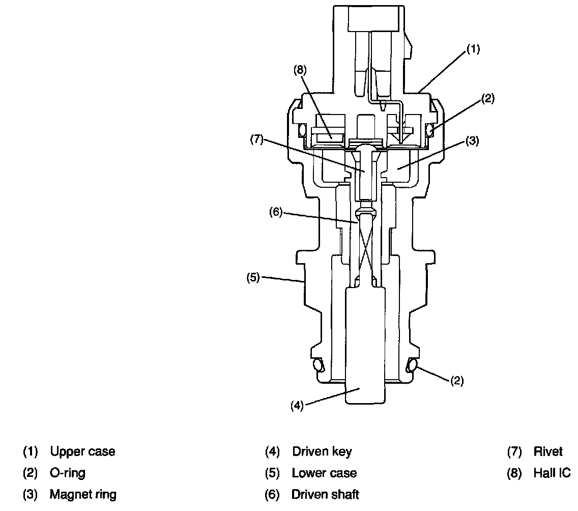
CONSTRUCTION
The speed sensor mainly consists of a Hall IC, magnet ring, driven shaft and spring.
OPERATION
As the driven key rotates, the magnet turns causing the magnetic field of the Hall IC to change.
The Hall IC generates a signal that corresponds to a change in the magnetic field. One turn of the driven key in the speed sensor sends 4 pulses to the combination meter, engine control module and cruise control module.