Operation CHARM: Car repair manuals for everyone.
Manuals through 2025 now available!

Our trusted friends have launched a new website named LEMON, which has newer manuals. It also contains all the CHARM manuals.

LEMON is the spiritual successor to CHARM, I recommend you try it!

Link: lemon-manuals.la or lemon-manuals.org.ua

(Some people have issue connecting. LEMON is investigating. For now, use Firefox or change your DNS server)

Or, hide this message: temporarily or permanently

Main Shaft Assembly For Single-Range

A: REMOVAL
1. Remove the manual transmission assembly from vehicle.
2. Remove transfer case with extension case assembly.
3. Remove transmission case.
4. Removes drive pinion shaft assembly.
5. Remove main shaft assembly.

B: INSTALLATION
1. Install the needle bearing and oil seal onto the front of transmission main shaft assembly.

CAUTION:
^ Wrap clutch splined section with vinyl tape to prevent damage to oil seal.
^ Apply grease (Unilube #2 or equivalent) to the sealing lip of oil seal.
^ Use a new one.





2. Install needle bearing outer race knock pin hole into transmission case knock pin.

NOTE: Align the end face of seal with surface (A) when installing oil seal.

3. Install the drive pinion assembly.
4. Install transmission case.
5. Install transfer case with extension case assembly.
6. Install the manual transmission assembly to vehicle.

C: DISASSEMBLY
1. Put vinyl tape around main shaft splines to protect oil seal from damage. Then pull out oil seal and needle bearing by hand.





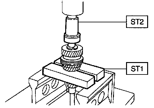
2. Remove lock nut from transmission main shaft assembly.

NOTE: Remove caulking before taking off lock nut.

ST1 498937000 TRANSMISSION HOLDER
ST2 499987003 SOCKET WRENCH (35)





3. Remove 5th-Rev sleeve and hub assembly, baulk ring, 5th drive gear and needle bearing.





4. Remove snap ring and synchro cone stopper from 5th-Rev sleeve and hub assembly.





5. Using ST1, ST2 and a press, remove ball bearing, synchro cone and baulk ring (Rev).

NOTE:
^ Replace sleeve and hub with new ones. Do not attempt to disassemble because they must engage at a specified point. If they should be disassembled, mark engagement point on splines beforehand.
^ Do not reuse ball bearing.

ST1 499757002 INSTALLER
ST2 498077400 SYNCHRO CONE REMOVER





6. Using ST1 and ST2, remove the rest of parts.

NOTE: Replace sleeve and hub with new ones. Do not attempt to disassemble because they must engage at a specified point. If they should be disassembled, marking engagement point on splines beforehand.

ST1 899864100 REMOVER
ST2 899714110 REMOVER

D: ASSEMBLY





1. Assemble each sleeve and hub assembly.

NOTE: Position open ends of spring 120° apart.





2. Install 3rd drive gear, outer baulk ring, synchro cone, inner baulk ring, sleeve and hub assembly for 3rd needle bearing on transmission main shaft.

NOTE: Align groove in baulk ring with shifting insert.





3. Install 4th needle bearing race onto transmission main shaft using ST1, ST2 and a press.

CAUTION: Do not apply pressure in excess of 10 kN (1 ton, 1.1 US ton, 1.0 Imp ton).

ST1 899714110 REMOVER
ST2 499877000 RACE 4-5 INSTALLER





4. Install baulk ring, needle bearing, 4th drive gear and 4th gear thrust washer to transmission main shaft.

NOTE: Align baulk ring and gear & hub assembly with key groove.





5. Drive ball bearing onto the rear section of transmission main shaft using ST1, ST2 and a press.

CAUTION: Do not apply pressure in excess of 10 kN (1 ton, 1.1 US ton, 1.0 Imp ton).

ST1 899714110 REMOVER
ST2 499877000 RACE 4-5 INSTALLER





6. Using ST1 and ST2, install the 5th gear thrust washer and 5th needle bearing race onto the rear section of transmission main shaft.

CAUTION: Do not apply pressure in excess of 10 kN (1 ton, 1.1 US ton, 1.0 Imp ton).

NOTE: Face thrust washer in the correct direction.

ST1 899714110 REMOVER
ST2 499877000 RACE 4-5 INSTALLER
7. Install bearing onto synchro cone.





8. Install baulk ring and synchro cone onto 5th/Rev sleeve and hub assembly using ST and a press.

CAUTION: Do not apply pressure in excess of 10 kN (1 ton, 1.1 US ton, 1.0 Imp ton).

NOTE:
^ Use new ball bearing.
^ After press fitting, make sure synchro cone rotates freely.

ST 499757002 INSTALLER





9. Install synchro cone stopper and snap ring to 5th-Rev sleeve and hub assembly.





10. Install the rest parts to the rear section of transmission main shaft.

NOTE: Align groove in baulk ring with shifting insert.

11. Tighten lock nuts to the specified torque using ST1 and ST2.

NOTE: Secure lock nuts in two places after tightening.

ST1 499987003 SOCKET WRENCH
ST2 498937000 TRANSMISSION HOLDER
Tightening torque: 118 Nm (12.0 kgf-m, 86.8 ft. lbs.)

E: INSPECTION
Disassembled parts should be washed clean first and then inspected carefully.
1. Bearings
Replace bearings in the following cases:
^ Bearings, whose balls, outer races and inner races are broken or rusty.
^ Worn bearings
^ Bearings that fail to turn smoothly or make abnormal noise when turned after gear oil lubrication.
^ Bearings having other defects
2. Bushing (each gear) Replace the bushing in the following cases:
^ When the sliding surface is damaged or abnormally worn.
^ When the inner wall is abnormally worn.
3. Gears
^ Replace gears with new ones if their tooth surfaces are broken, damaged, or excessively worn.
^ Correct or replace if the cone that contacts the baulk ring is rough or damaged.
^ Correct or replace if the inner surface or end face is damaged.
4. Baulk ring Replace the ring in the following cases:
^ When the inner surface and end face are damaged.
^ When the ring inner surface is abnormally or partially worn down.
^ When the contact surface of the synchronizer ring insert is scored or abnormally worn down.





5. Shifting insert key
Replace the insert if deformed, excessively worn, or defective in any way.
6. Oil seal
Replace the oil seal if the lip is deformed, hardened, damaged, worn, or defective in any way.
7. O-ring
Replace the O-ring if the sealing face is deformed, hardened, damaged, worn, or defective in any way.
8. Gearshift mechanism
Repair or replace the gearshift mechanism if excessively worn, bent, or defective in any way.

F: ADJUSTMENT








Selection of main shaft rear plate
Using ST, measure the amount (A) of ball bearing protrusion from transmission main case surface and select the proper plate in the following table:

NOTE: Before measuring, tap the end of main shaft with a plastic hammer lightly in order to make the clearance zero between the main case surface and the moving flange of bearing.

ST 498147000 DEPTH GAUGE