Operation CHARM: Car repair manuals for everyone.
Manuals through 2025 now available!

Our trusted friends have launched a new website named LEMON, which has newer manuals. It also contains all the CHARM manuals.

LEMON is the spiritual successor to CHARM, I recommend you try it!

Link: lemon-manuals.la or lemon-manuals.org.ua

(Some people have issue connecting. LEMON is investigating. For now, use Firefox or change your DNS server)

Or, hide this message: temporarily or permanently

Window Glass: Service and Repair


SUNROOF:





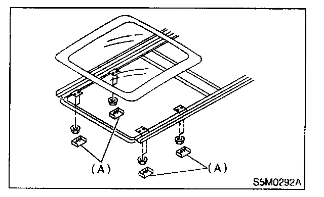
Sunroof Lid / REMOVAL
1. Completely close glass lid and open sunshade.






2. Detach the four covers (A) and then remove the eight nuts.
3. Carefully remove glass lid.


INSTALLATION
Install in the reverse order of removal.