Operation CHARM: Car repair manuals for everyone.
Manuals through 2025 now available!

Our trusted friends have launched a new website named LEMON, which has newer manuals. It also contains all the CHARM manuals.

LEMON is the spiritual successor to CHARM, I recommend you try it!

Link: lemon-manuals.la or lemon-manuals.org.ua

(Some people have issue connecting. LEMON is investigating. For now, use Firefox or change your DNS server)

Or, hide this message: temporarily or permanently

Oil Line: Service and Repair

Oil Pipe

REMOVAL

NOTE:
The oil pipe is installed on turbo models.

1) Remove the collector cover.
2) Disconnect the ground cable from battery.





3) Remove the oil inlet pipe from the turbocharger.

CAUTION:
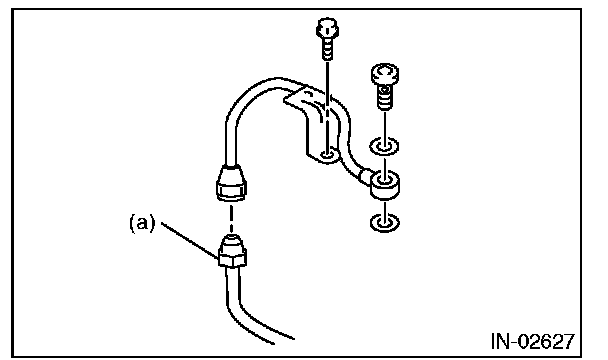
In order to prevent damaging the oil pipe on the cylinder head side, fix the section (a) shown in the figure when loosing the oil inlet pipe flare nut, and avoid the part from rotating together while loosening the nut.









4) Remove the intake manifold.
5) Remove the secondary air pump.
6) Remove the radiator main fan and radiator sub fan.
7) Remove the V-belts.
8) Remove the crank pulley.
9) Remove the timing belt cover.
10) Remove the timing belt.
11) Remove the cam sprocket LH.
12) Remove the belt cover No. 2 LH.





13) Remove the oil pipe.





INSTALLATION
1) Inspect the union bolt with filter.
2) Install the oil pipe.

NOTE:
^ Be careful of the install location of the union bolt; the location will differ depending on the presence of filter.
^ Use a new gasket.





3) Install the belt cover No. 2 LH.





4) Install the cam sprocket LH.
5) Install the timing belt.
6) Install the timing belt cover.
7) Install the crank pulley.
8) Install the V-belts.
9) Install the radiator main fan and the radiator sub fan.
10) Install the intake manifold.
11) Temporarily tighten the bolts and flare nuts which secure the oil inlet pipe to the turbocharger.

NOTE:
Use a new gasket.





12) Tighten the union bolts and flare nuts which secure the oil inlet pipe to the turbocharger.

CAUTION:
In order to prevent damaging the oil pipe on the cylinder head side, fix the section (a) shown in the figure when tightening the oil inlet pipe flare nut, and avoid the part from rotating together while tightening the nut.









13) Tighten the bolts which hold the oil inlet pipe stay to the turbocharger





14) Connect the ground cable to battery.





15) Install the collector cover.

INSPECTION

INSPECTING UNION BOLT WITH FILTER
Check the filter part of union bolt for clogging or damage, and if defective, replace the union bolt with filter with the new part.





OTHER INSPECTIONS
1) Check that the oil pipe and union bolt have no deformation, cracks and other damages.
2) Check that there are no oil leaks or oil oozing from the oil pipe attachment section.