Operation CHARM: Car repair manuals for everyone.
Manuals through 2025 now available!

Our trusted friends have launched a new website named LEMON, which has newer manuals. It also contains all the CHARM manuals.

LEMON is the spiritual successor to CHARM, I recommend you try it!

Link: lemon-manuals.la or lemon-manuals.org.ua

(Some people have issue connecting. LEMON is investigating. For now, use Firefox or change your DNS server)

Or, hide this message: temporarily or permanently

Valve Rocker Assembly

Valve Rocker Assembly





REMOVAL

NOTE:
When replacing the single part, perform the work with the engine installed to vehicle body. Refer to "Valve Clearance" for preparation procedures.

1) Remove the spark plug cords.
2) Disconnect the PCV hose and remove the rocker cover.
3) Remove the valve rocker assembly.
1) Use the ST to rotate the spring stopper in the direction of the arrow to remove it from adjuster pin.
ST 18258AAOOO SPRING INSTALLER








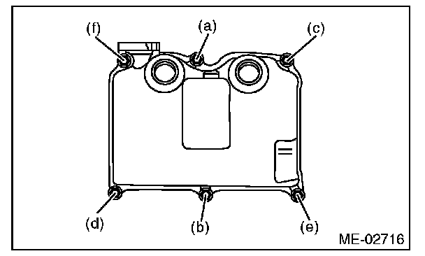
2) Remove the bolts (a) through (j) in alphabetical sequence.

NOTE:
Leave two or three threads of bolts (i) and (j) engaged in order to retain the valve rocker assembly.





3) Remove the valve rocker assembly.

NOTE:
Set the ST in the position shown in the drawing to remove the intake valve rocker assembly.

ST 18354AAOOO VALVE ROCKER HOLDER





INSTALLATION
1) Install the valve rocker assembly.
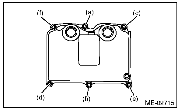
1) Temporarily tighten the bolts equally in alphabetical order as shown in the figure.

NOTE:
^ Do not temporarily tighten the bolts (i) and
^ Set the ST in the position shown in the drawing to mount the intake valve rocker assembly.

ST 18354AAOOO VALVE ROCKER HOLDER





2) Tighten the bolts (a) through (h) to specified torque.
Tightening torque:
25 Nm (2.5 kgf-m, 18.4 ft-lb)
3) Tighten the bolts (i) through (j) to specified torque.





4) Use the ST to rotate the spring stopper in the direction of the arrow to fasten the adjuster pin.
ST 18258AAOOO SPRING INSTALLER








2) Remove the timing belt cover LH.
3) Adjust the valve clearance.
4) Install the timing belt cover LH.
Tightening torque:
7.5 Nm (0.5 kgf-m, 3.7 ft-lb)
5) Install the rocker cover.
1) Install the rocker cover gasket to the rocker cover.

NOTE:
Use a new rocker cover gasket.

2) Temporarily tighten the bolts in alphabetical order shown in the figure, tighten them in two stages.
Tightening torque:
1st
6.4 Nm (0.7 kgf-m, 4.7 ft-lb)
2nd (only (a) and (b) are tightened)
6.4 Nm (0.7 kgf-m, 4.7 ft-lb)

RH side





LH side





3) Connect the PCV hose.
6) Install the spark plug cords.

DISASSEMBLY

NOTE:
Intake valve rocker assembly cannot be disassembled.

1) Remove the exhaust valve rocker arm from the rocker shaft.

NOTE:
Keep all the removed parts in order for re-installing in their original positions.

2) Remove the nut and adjusting screw from exhaust valve rocker.

ASSEMBLY

NOTE:
Intake valve rocker assembly cannot be disassembled.

1) Install the adjusting screw and nut to the exhaust valve rocker.
2) Insert the exhaust valve rocker arm to rocker shaft.

NOTE:
Valve rocker arms, and rocker shaft have identification marks. Make sure the parts with same markings are properly assembled.

INSPECTION

INTAKE VALVE ROCKER ASSEMBLY
1) If the roller or valve contact surface of valve rocker arm is worn or dented excessively, replace the valve rocker assembly.
2) Check that the valve rocker arm roller rotates smoothly. If not, replace the valve rocker assembly.

EXHAUST VALVE ROCKER ASSEMBLY
1) Measure the inner diameter of valve rocker arm and outer diameter of valve rocker shaft, and confirm the difference (oil clearance) between the two values.








2) If the oil clearance exceeds the limit, replace the valve rocker arm or shaft, whichever shows the greater amount of wear.
Rocker arm inside diameter:
22.020 - 22.041 mm (0.8669 - 0.8678 in)
Rocker shaft diameter:
21.987 - 22.000 mm (0.8656 - 0.8661 in)
3) If the roller or valve contact surface of valve rocker arm is worn or dented excessively, replace the valve rocker arm. 4) Check that the valve rocker arm roller rotates smoothly. If not, replace the valve rocker arm.