Operation CHARM: Car repair manuals for everyone.
Manuals through 2025 now available!

Our trusted friends have launched a new website named LEMON, which has newer manuals. It also contains all the CHARM manuals.

LEMON is the spiritual successor to CHARM, I recommend you try it!

Link: lemon-manuals.la or lemon-manuals.org.ua

(Some people have issue connecting. LEMON is investigating. For now, use Firefox or change your DNS server)

Or, hide this message: temporarily or permanently

Fuel Sub Level Sensor

Fuel Sub Level Sensor

REMOVAL

WARNING: Place "NO OPEN FLAMES" signs near the working area.

CAUTION:
- Be careful not to spill fuel.
- If the fuel gauge indicates that two thirds or more of the fuel is remaining, be sure to drain fuel before starting work to avoid the fuel to spill.


1. Release the fuel pressure.
2. Drain fuel.
3. Disconnect the ground cable from battery.






4. Remove the rear seat cushion.
5. Remove the service hole cover.






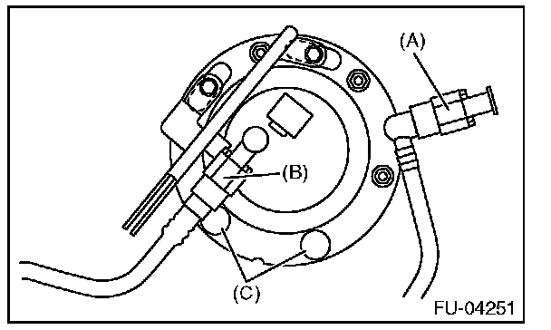
6. Disconnect connector (A) from fuel sub level sensor.






7. Disconnect the quick connector of fuel delivery tube (A) and jet pump tube (B).
8. Remove the rubber cap (C) from the nut.






9. Remove the bolts and nuts which secure fuel sub level sensor protector and fuel sub level sensor upper plate to the fuel tank.






10. Remove the fuel sub level sensor from the fuel tank.


INSTALLATION

Install in the reverse order of removal while being careful of the following.
- Make sure the sealing portion is free from fuel or foreign matter before installation.
- Align protrusion (A) of the gasket to the position shown in the figure.
- Align protrusion (B) of the fuel sub level sensor to the cutout in the fuel sub level sensor upper plate.
- Tighten the nuts and bolts to the specified torque in the order as shown in the figure.
- After tightening, install the rubber cap (C) at the position shown in the figure.

NOTE:
- Use a new gasket and retainer.
- Do not forget to install rubber cap (C).