Operation CHARM: Car repair manuals for everyone.
Manuals through 2025 now available!

Our trusted friends have launched a new website named LEMON, which has newer manuals. It also contains all the CHARM manuals.

LEMON is the spiritual successor to CHARM, I recommend you try it!

Link: lemon-manuals.la or lemon-manuals.org.ua

(Some people have issue connecting. LEMON is investigating. For now, use Firefox or change your DNS server)

Or, hide this message: temporarily or permanently

System Specifications

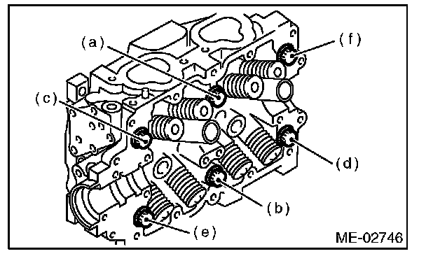
Cylinder head bolts

Tighten all bolts 40 N.m (4.1 kgf-m, 29.5 ft-lb)
Retighten all bolts 95 N.m (9.7 kgf-m, 70.1 ft-lb)
Loosen all bolts 180 degrees
(in the reverse order of installing)
Loosen further 180 degrees
Tighten all bolts 10 N.m (1.0 kgf-m, 7.4 ft-lb)
Tighten all bolts 30 N.m (3.1 kgf-m, 22.1 ft-lb)
Tighten all bolts 60 N.m (6.1 kgf-m, 44.2 ft-lb)
Tighten all bolts 80 to 90 degrees
Tighten all bolts 40 to 45 degrees
Further tighten bolts (a) and (b) 40 - 45 degrees





Warping limit 0.035 mm (0.0014 in)
Grinding limit 0.1 mm (0.004 in)
Standard height of cylinder head 97.5 mm (3.84 in)

Camshaft cap

Temporarily tighten the bolts (a) through (d)





Bolts (e) through (j)





Bolts (k) through (r)





Bolts (s) and (t)





Cam sprocket 78 Nm (8.0 kgf-m, 57.5 ft-lb)