Operation CHARM: Car repair manuals for everyone.
Manuals through 2025 now available!

Our trusted friends have launched a new website named LEMON, which has newer manuals. It also contains all the CHARM manuals.

LEMON is the spiritual successor to CHARM, I recommend you try it!

Link: lemon-manuals.la or lemon-manuals.org.ua

(Some people have issue connecting. LEMON is investigating. For now, use Firefox or change your DNS server)

Or, hide this message: temporarily or permanently

Assembly

ASSEMBLY

NOTE:
^ Assemble in the reverse order of disassembly.
^ Check and adjust each part during assembly.
^ Keep the shims and washers in order, so that they are not improperly installed.
^ Thoroughly clean the surfaces on which the shims, washers and bearings are to be installed.
^ Apply differential gear oil when installing the bearings and thrust washers.
^ Be careful not to mix up the RH and LH bearing races.
^ Use a new O-ring and gasket.
^ Replace the oil seal with a new part at every disassembly.
^ Be careful not to mix up the oil seal RH and LH.
^ Apply differential gear oil to the lips when installing the oil seal.





1) Adjusting preload for front and rear bearings

NOTE:
Adjust the bearing preload between front and rear bearings with spacer and washer. Pinion height adjusting washer is not affected by this adjustment. The adjustment must not be carried out with oil seal inserted.

1) Install the rear bearing race into the differential carrier using ST1 and ST2.
ST1 398477701 HANDLE
ST2 398477703 DRIFT 2





2) Install the front bearing race to the differential carrier using ST1 and ST2.
ST1 398477701 HANDLE
ST2 398477702 DRIFT
3) Insert the ST1 into carrier with the pinion height adjusting washer and rear bearing cone fitted onto it.

NOTE:
^ If tooth contact (drive pinion, hypoid driven gear) is normal in the inspection before disassembling, verify that the washer is not deformed, and then reuse the used washer.
^ Use new rear bearing cone.

4) Install the preload adjusting spacer & washer, front bearing cone, ST2, companion flange, and washer & self-locking nut.
ST1 398507702 DUMMY SHAFT
ST2 398507703 DUMMY COLLAR





5) Turn the ST1 by hand to smooth the bearing, and tighten the self-locking nut while measuring the initial load or initial torque with a spring scale or torque wrench. Select the preload adjusting washer and spacer so that the specified preload is obtained when nut is tightened to the specified torque.

NOTE:
^ Use a new self-locking nut.
^ Measure the preload indirection of tangent to the flange.
^ Be careful not to give excessive preload.
^ When tightening the self-locking nut, lock ST1 with ST2 as shown in the figure.

ST1 398507702 DUMMY SHAFT
ST2 398507704 BLOCK

















2) Adjusting drive pinion height:
Adjust the drive pinion height with washer installed between the rear bearing cone and the back of pinion gear.
1) Attach the ST2.

NOTE:
At this time, install a pinion height adjusting washer, temporarily selected, or the same as that used before. Measure and record the thickness.

ST1 398507702 DUMMY SHAFT
ST2 398507701 DIFFERENTIAL CARRIER GAUGE
ST3 398507703 DUMMY COLLAR





2) Measure the clearance "N" between the end of ST2 and the end surface of ST1 by using a thickness gauge.

NOTE:
Make sure there is no clearance between the case and ST2.

ST1 398507702 DUMMY SHAFT
ST2 398507701 DIFFERENTIAL CARRIER GAUGE





3) Obtain the thickness of pinion height adjusting washer to be inserted from the following formula, and replace the temporarily installed washer with this one.
T = To + N - (H x 0.01) - 0.20 mm (0.0079 in)

NOTE:
Use copies of this page.





(Example of calculation)
To = 2.20 mm (0.0866 in) + 1.20 mm (0.0472 in) = 3.40 mm (0.1339 in)
N = 0.23 mm (0.0091 in)
H = + 1
T = 3.40 mm (0. 1339 in) + 0.23 mm (0.0091 in) - 0.01 mm (0.0004 in) - 0.20 mm (0.0079 in) 3.42 mm (0. 1346 in)
Thickness = 3.42 mm (0. 1346 in)
Therefore use washer 383605200.





3) Install the selected pinion height adjusting washer on drive pinion, and press the rear bearing cone into position with ST.
ST 398177700 INSTALLER





4) Insert the drive pinion into the differential carrier, and install the preselected preload adjusting spacer and washer.





5) Press-fit the front bearing cone into case with ST1, ST2 and ST3.
ST1 398507703 DUMMY COLLAR
ST2 399780104 WEIGHT
ST3 899580100 INSTALLER





6) Insert the spacer, then press-fit the pilot bearing with ST1 and ST2.
ST1 399780104 WEIGHT
ST2 899580100 INSTALLER





7) Using the ST, install the oil seal.

NOTE:
^ Use a new oil seal.
^ Press-fit until the oil seal end comes 1 mm (0.04 in) inward from end of carrier.
^ Apply differential gear oil to the oil seal lips.

ST 498447120 INSTALLER





8) Press-fit the companion flange with ST1 and ST2.

NOTE:
Be careful not to damage the bearing.

ST1 899874100 INSTALLER
ST2 399780104 WEIGHT





9) Apply seal material on the drive pinion shaft thread and new self-locking nut seat.
Seal material:
THREE BOND 1324 (Part No. 004403042) or equivalent
10) Attach the new self-locking nut and use the ST to fix the companion flange in place, then tighten the self-locking nut.
Tightening torque:
181.5 N.m (18.5 kgf-m, 133.9 ft-lb)
ST 498427200 FLANGE WRENCH





11) Check the initial torque or initial load.








12) Assembling differential case
Install the side gears and pinion mate gears, with their thrust washers and pinion mate shaft, into the differential case.

NOTE:
^ Apply gear oil on both sides of the washer and on the side gear shaft before installing.
^ Insert the pinion mate shaft into the differential case by aligning the lock pin holes.





1) Measure the side gear backlash.





2) Adjust the backlash as specified by selecting side gear thrust washer.





3) Check the condition of rotation after applying differential gear oil to the gear tooth surfaces and thrust washer surfaces.
4) After inserting the pinion shaft lock pin into differential case, stake the both sides of the hole to prevent pin from falling off.

13) Install the driven gear to the differential case.

NOTE:
^ Before installing bolts, apply seal material to bolt threads.

Seal material:
THREE BOND 1324 (Part No. 004403042) or equivalent

^ Make sure there is no clearance between the differential case and driven gear.
^ Tighten diagonally.





14) Using the ST, press-fit the side bearing to the differential case.
ST 398487700 DRIFT





15) Using the ST, press-fit the side bearing outer race to the side retainer.
ST 398417700 DRIFT





16) Side retainer shim adjustment
1) The hypoid driven gear backlash and side bearing preload can be adjusted by the side retainer shim thickness.
2) Install the differential case assembly into differential carrier in the reverse order of disassembly.

NOTE:
Be careful not to hit the teeth against the case.





3) Install the side retainer shim and O-ring.

NOTE:
^ Use new O-rings.
^ Replace broken or corroded side retainer shims with a new part of the same thickness.





4) Align the arrow mark on differential carrier with the arrow mark on side retainer during installation.

NOTE:
Be careful that side outer race is not damaged by the bearing roller.





5) Tighten the side retainer bolts.





6) Measure the backlash between the hypoid driven gear and drive pinion. Set the magnet base on differential carrier. Align the contact point of dial gauge with tooth face of hypoid driven gear, and move hypoid driven gear while holding drive pinion still. Read the value indicated on dial gauge. If the backlash is not within the range of specifications, adjust the side retainer shim using the following procedures.
^ When backlash is less than 0.1 mm (0.004 in):
Reduce the hypoid driven gear rear face shim thickness and increase the hypoid driven gear tooth surface side shim thickness.
^ When backlash exceeds 0.2 mm (0.008 in):
Increase the hypoid driven gear rear face shim thickness and reduce the tooth surface side shim thickness.





7) Measure the total preload of the drive pinion. If the total preload is not within specification, adjust the thickness of side retainer shims, increasing/reducing both shims by an even amount at a time.
Total preload:
20.7 - 54.4 N (2.1 - 5.5 kgf, 4.7 - 12.2 lbf)
17) Recheck the backlash between the hypoid driven gear and drive pinion.





18) Check the hypoid driven gear runout on its back surface, and make sure that the pinion and hypoid driven gear rotate smoothly. If the hypoid driven gear runout on its back surface exceeds the specification, check for any foreign objects between the hypoid driven gear and differential case, and for any deformation of the case or gear.





19) Checking and adjusting the tooth contact of hypoid driven gear
1) Apply red lead evenly to the both side of three or four teeth on hypoid driven gear. Check the contact pattern after rotating the hypoid driven gear several revolutions back and forth until a definite contact pattern appears on the hypoid driven gear.
2) When the contact pattern is not correct, readjust.

NOTE:
Be sure to wipe off the red lead after the adjustment is completed.

^ Correct tooth contact
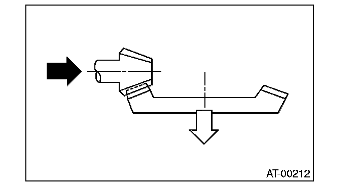
Check item: Tooth contact pattern is slightly shifted toward toe side under no-load rotation. (When driving, it moves towards the heel side.)





^ Face contact
Check item: Backlash is too large.
Contact pattern





Corrective action: Increase thickness of pinion height adjusting washer according to the procedure for bringing drive pinion close to hypoid driven gear side.





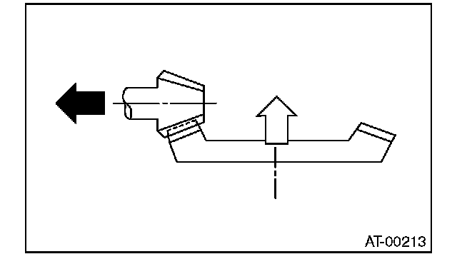
^ Flank contact
Check item: Backlash is too small.
Contact pattern





Corrective action: Reduce the thickness of pinion height adjusting washer according to the procedure for bringing drive pinion away from hypoid driven gear.





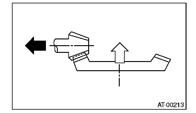
^ Toe contact (inside contact)
Check item: Teeth contact area is too small.
Contact pattern





Corrective action: Reduce the thickness of pinion height adjusting washer according to the procedure for bringing drive pinion away from hypoid driven gear.





^ Heel contact (outside end contact)
Check item: Teeth contact area is too small.
Contact pattern





Corrective action: Increase thickness of pinion height adjusting washer according to the procedure for bringing drive pinion close to hypoid driven gear side.





20) If proper tooth contact is not obtained, once again adjust the drive pinion height by changing the RH and LH side retainer shims and the hypoid gear backlash.
1) Drive pinion height
ST1 398507702 DUMMY SHAFT
ST2 398507701 DIFFERENTIAL CARRIER GAUGE





T = To + N - (H � 0.01) - 0.20 mm (0.008 in)





2) Hypoid gear backlash





21) Remove the RH and LH side retainers.
22) Install the O-ring to left and right side retainers.

NOTE:
Use new O-rings.

23) Install oil seal to side retainers of both sides.
24) Align the arrow mark on differential carrier with the arrow mark on side retainer during installation.





25) Apply liquid gasket to the bolt with arrow marks, and install the side retainer.





26) Install the gasket and rear cover, and tighten the bolts to specified torque.

NOTE:
Use a new gasket.





27) Install the air breather cap.





28) Install the drain plug.

NOTE:
Apply liquid gasket to the drain plug.

Liquid gasket:
THREE BOND 1105 (Part No. 004403010) or equivalent
Tightening torque:
49 N.m (5.0 kgf-m, 36.1 ft-lb)