Operation CHARM: Car repair manuals for everyone.
Manuals through 2025 now available!

Our trusted friends have launched a new website named LEMON, which has newer manuals. It also contains all the CHARM manuals.

LEMON is the spiritual successor to CHARM, I recommend you try it!

Link: lemon-manuals.la or lemon-manuals.org.ua

(Some people have issue connecting. LEMON is investigating. For now, use Firefox or change your DNS server)

Or, hide this message: temporarily or permanently

Front Differential Assembly

Front Differential Assembly

REMOVAL
1) Remove the manual transmission assembly from the vehicle.
2) Remove the transfer case together with the extension case assembly.
3) Remove the transmission case.
4) Remove the drive pinion shaft assembly.
5) Remove the main shaft assembly for single range.
6) Remove the front differential assembly.

NOTE:
^ Do not confuse the right and left roller bearing outer races.
^ Be careful not to damage the oil seal of retainer.





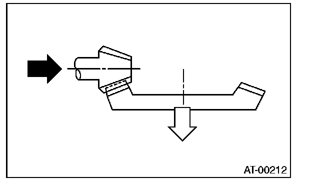
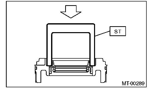
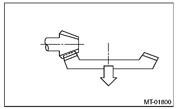
7) Remove the differential side retainers using ST.
ST 18630AA010 WRENCH COMPL RETAINER





8) Remove the bearing outer race from the transmission case.
ST 398527700 PULLER ASSY

INSTALLATION
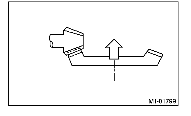
1) Install the differential side retainers using ST.
ST 18630AA010 WRENCH COMPL RETAINER
2) Install the bearing outer race to the transmission case.
3) Install the front differential assembly.

NOTE:
Be careful not to fold the sealing lip of oil seal.





4) Install the main shaft assembly for single-range.
5) Install the drive pinion shaft assembly.
6) Install the transmission case.
7) Install the transfer case together with the extension case assembly.
8) Install the manual transmission assembly to the vehicle.

DISASSEMBLY

DIFFERENTIAL CASE ASSEMBLY
1) Loosen the twelve bolts and remove hypoid driven gear.





2) Drive out the straight pin from differential assembly toward hypoid driven gear side.
ST 899904100 STRAIGHT PIN REMOVER





3) Pull out the pinion shaft, and remove the differential bevel pinion, differential bevel gear and washer.





4) Using the ST, remove the roller bearing.
ST 899524100 PULLER SET





SIDE RETAINER
1) Remove the O-ring.





2) Remove the oil seal.

NOTE:
^ Remove using the flat tip screwdriver.
^ Do not reuse the oil seal. Replace the oil seal with a new part.





ASSEMBLY

DIFFERENTIAL CASE ASSEMBLY
1) Install the differential bevel gear and differential bevel pinion together with washer, and insert the pinion shaft.

NOTE:
Face the chamfered side of washer toward gear.





2) Measure the backlash between differential bevel gear and differential bevel pinion. If backlash is not within specified value, install a suitable washer to adjust.

NOTE:
Be sure the pinion gear teeth contacts adjacent gear teeth during measurement.

Standard backlash
0.13 - 0.18 mm (0.0051 - 0.0071 in)

ST1 498247001 MAGNET BASE
ST2 498247100 DIAL GAUGE





3) Align the pinion shaft and differential case with each hole, and drive the straight pin into the holes from the hypoid driven gear using the ST.

NOTE:
Lock the straight pin after installing.

ST 899904100 STRAIGHT PIN REMOVER





4) Install the roller bearing to differential case.

CAUTION:
Do not apply a load in excess of 10 kN (1 ton, 1.1 US ton, 1.0 Imp ton).


NOTE:
Be careful because the roller bearing outer races are used as a set.

ST1 499277100 BUSHING 1-2 INSTALLER
ST2 398497701 ADAPTER





5) Install the hypoid driven gear to the differential case using twelve bolts.





SIDE RETAINER
1) Using the ST, install the differential side retainer oil seal by lightly tapping with a plastic hammer.

CAUTION:
Apply transmission gear oil to the oil seal lips, and install the oil seal while being careful not to deform the lip.


NOTE:
Use a new oil seal.

ST 18675AA000 DIFFERENTIAL SIDE OIL SEAL INSTALLER





2) Install the O-ring.

NOTE:
^ Use new O-rings.
^ Do not stretch or damage the O-ring.





INSPECTION
Repair or replace the differential gear in the following cases:
^ When the hypoid drive gear and drive pinion shaft tooth surfaces are damaged, excessively worn, or seized.
^ When the roller bearing on the drive pinion shaft has a worn or damaged roller path.
^ When there is damage, wear or seizure of the differential bevel pinion, differential bevel gear, washer, pinion shaft or straight pin.
^ When the differential case sliding surfaces are worn or damaged.





BEVEL PINION GEAR BACKLASH
Measure the backlash between differential bevel gear and differential bevel pinion. If backlash is not within specified value, install a suitable washer to adjust.

NOTE:
Be sure the pinion gear teeth contacts adjacent gear teeth during measurement.

Standard backlash
0.13 - 0.18 mm (0.0051 - 0.0071 in)

ST1 498247001 MAGNET BASE
ST2 498247100 DIAL GAUGE





HYPOID GEAR BACKLASH
1) Set the ST1, ST2 and ST3. Insert the needle through transmission oil drain plug hole so that the needle comes in contact with the tooth surface on the right corner, and check the backlash.
ST1 498247001 MAGNET BASE
ST2 498247100 DIAL GAUGE
ST3 498255400 PLATE
2) Install SUBARU genuine axle shafts to both sides, rotate in the inversion direction so that the gauge contacts the tooth surface, and read the dial gauge

NOTE:
If the backlash is outside the specified range, adjust it by turning the side retainer in the right side case.

Backlash
0.13 - 0.18 mm (0.0051 - 0.0071 in)

Part No. 38415AAl 00 AXLE SHAFT





TOOTH CONTACT OF HYPOID GEAR
Check tooth contact of hypoid gear as follows: Apply a thin uniform coat of red lead on both teeth surfaces on 3 or 4 teeth of the hypoid gear. Move the hypoid gear back and forth by turning the transmission main shaft until a definite contact pattern is developed on the hypoid gear, and judge whether face contact is correct. When the contact pattern is not correct, adjust it.
^ Tooth contact is correct.





ADJUSTMENT

BEVEL PINION GEAR BACKLASH
1) Disassemble the front differential assembly.
2) Select a different washer from the table and install.





3) Adjust until the standard value is obtained.
Backlash:
Standard
0.13 - 0.18 mm (0.005. - 0.0071 in)

HYPOID GEAR BACKLASH
Adjust the backlash by turning the side retainer in the RH side case.

ST 18630AA010 WRENCH COMPL RETAINER





NOTE:
Each time side retainer rotates one tooth, backlash changes by 0.05 mm (0.0020 in).





TOOTH CONTACT OF HYPOID GEAR
1) Adjust until correct teeth contact is obtained.
2) Check tooth contact, and perform the adjustment as follows.
^ Tooth contact
Check item: Tooth contact surface is slightly shifted toward the toe side under a no-load condition. (When driving, it moves towards the heel side.)





^ Face contact
Check item: Backlash is too large.
Contact pattern





Corrective action: Tighten the side retainer to move the driven gear closer to the drive pinion shaft.





^ Flank contact
Check item: Backlash is too small.
Contact pattern





Corrective action: Loosen the side retainer to move the driven gear away from the drive pinion shaft.





^ Toe contact (inside contact)
Check item: Teeth contact area is too small.
Contact pattern





Corrective action: Increase thickness of the drive pinion shim according to the procedures for moving the drive pinion away from the driven gear. Also tighten the side retainer to move the driven gear closer to the drive pinion shaft.





^ Heel contact (outside end contact)
Check item: Teeth contact area is too small.
Contact pattern





Corrective action: Reduce thickness of the drive pinion shim according to the procedures for moving the drive pinion closer to driven gear. Also loosen the side retainer to move the driven gear away from the drive pinion shaft.