Operation CHARM: Car repair manuals for everyone.
Manuals through 2025 now available!

Our trusted friends have launched a new website named LEMON, which has newer manuals. It also contains all the CHARM manuals.

LEMON is the spiritual successor to CHARM, I recommend you try it!

Link: lemon-manuals.la or lemon-manuals.org.ua

(Some people have issue connecting. LEMON is investigating. For now, use Firefox or change your DNS server)

Or, hide this message: temporarily or permanently

Tightening Torques

Cylinder head





Tighten all bolts 29 N.m (3.0 kgf-m, 21.4 ft-lb)
Retighten all bolts 69 N.m (7.0 kgf-m, 50.9 ft-lb)
Loosen all bolts 180 degrees
(in the reverse order of installing)
Loosen further 180 degrees.
Tighten all bolts 49 N.m (5.0 kgf-m, 36.1 ft-lb)
Tighten all bolts 80 to 90 degrees
Tighten all bolts 40 to 45 degrees
Tighten bolts (A) and (B) further 40 - 45 degrees.

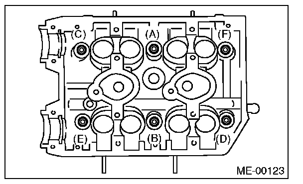
Camshaft bearing caps

Gradually tighten the camshaft cap in at least two steps, in alphabetical order shown in the figure, and then tighten to the specified torque.





Exhaust manifold 40 Nm (4.1 kgf-m, 29.5 ft lb)

Cylinder block connecting bolts

Tighten the 10 mm cylinder block connecting bolts on the LH side (A - D) in alphabetical order





Tighten the 10 mm cylinder block connecting bolts on the RH side (E - J) in alphabetical order





Tighten the LH side cylinder block connecting bolts (A - D) further in alphabetical order





Tighten the RH side cylinder block connecting bolts (E - J) further in alphabetical order





Tighten the LH side cylinder block connecting bolts (A - D) further in alphabetical order
(A), (C): Angle tightening
Tightening angle 90 degrees
(B), (D): Torque tightening





Tighten the RH side cylinder block connecting bolts (E - J) further in alphabetical order





Tighten the 8 mm and 6 mm cylinder block connecting bolts on the LH side (A - H) in alphabetical order





Connecting rod 52 Nm (5.3 kgf-m, 38.4 ft-lb)

Crank pulley

Temporarily tighten the crank pulley bolt





Tighten the crank pulley bolt to the specified angle





Oil pump





Water pump