Operation CHARM: Car repair manuals for everyone.
Manuals through 2025 now available!

Our trusted friends have launched a new website named LEMON, which has newer manuals. It also contains all the CHARM manuals.

LEMON is the spiritual successor to CHARM, I recommend you try it!

Link: lemon-manuals.la or lemon-manuals.org.ua

(Some people have issue connecting. LEMON is investigating. For now, use Firefox or change your DNS server)

Or, hide this message: temporarily or permanently

System Specifications

Cylinder Block















































Cylinder Block Inspection
Warping limit (Mating surface with cylinder head) 0.025 mm (0.0098 in)
Grinding limit 0.1 mm (0.004 in)
Standard height 201.0 mm (7.91 in)

Crankshaft Main Bearing Cap Bolts
Please refer to Cylinder Block Removal and Replacement for bolt tightening specifications and procedures. Service and Repair

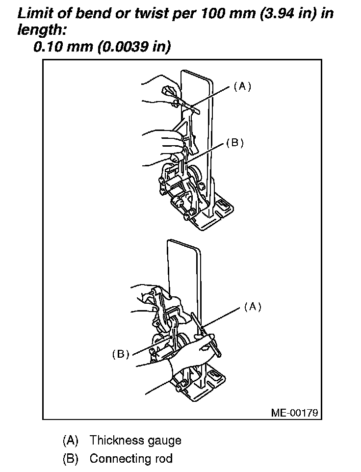
Connecting Rod Bolts 52 N.m (5.3 kgf-m, 38.4 ft-lb)

Crank Pulley Bolts
First pass 47 N.m (4.8 kgf-m, 34.7 ft-lb)
Final pass Tighten 60° ± 5°