Operation CHARM: Car repair manuals for everyone.
Manuals through 2025 now available!

Our trusted friends have launched a new website named LEMON, which has newer manuals. It also contains all the CHARM manuals.

LEMON is the spiritual successor to CHARM, I recommend you try it!

Link: lemon-manuals.la or lemon-manuals.org.ua

(Some people have issue connecting. LEMON is investigating. For now, use Firefox or change your DNS server)

Or, hide this message: temporarily or permanently

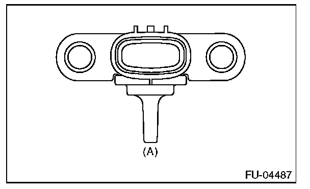
Manifold Pressure/Vacuum Sensor: Testing and Inspection

Manifold Absolute Pressure Sensor

INSPECTION

1. Check that the manifold absolute pressure sensor has no deformation, cracks or other damages.
2. Connect dry-cell battery positive terminal to terminal No. 3 and dry-cell battery ground terminal to terminal No. 1, circuit tester positive terminal to terminal No. 2 and the circuit tester negative terminal to terminal No. 1.

NOTE:
- Use new dry-cell batteries.
- Using circuit tester, check the voltage of a single dry-cell battery is 1.6 V or more. And also check the voltage of three batteries in series is between 4.8 V and 5.2 V.






3. Check the voltage at a normal atmospheric pressure.

NOTE: The atmospheric pressure at higher altitude is lower than normal. Therefore, the voltage is lower than the standard value.






4. Connect the Mighty Vac to the pressure port (A) of manifold absolute pressure sensor.






5. Check the voltage when generating vacuum and positive pressure using Mighty Vac.

CAUTION: Do not apply vacuum of less than -88 -200 kPa (-0.9 -2.04 kgf/sq.cm, -12.8 -29.0 psi). Doing so may damage the manifold absolute pressure sensor.

NOTE: When vacuum occurs at the pressure port of manifold absolute pressure sensor, the voltage will drop from the value as in step 3). When positive pressure occurs, on the other hand, the voltage will rise.