Operation CHARM: Car repair manuals for everyone.
Manuals through 2025 now available!

Our trusted friends have launched a new website named LEMON, which has newer manuals. It also contains all the CHARM manuals.

LEMON is the spiritual successor to CHARM, I recommend you try it!

Link: lemon-manuals.la or lemon-manuals.org.ua

(Some people have issue connecting. LEMON is investigating. For now, use Firefox or change your DNS server)

Or, hide this message: temporarily or permanently

Removal

Cylinder Block

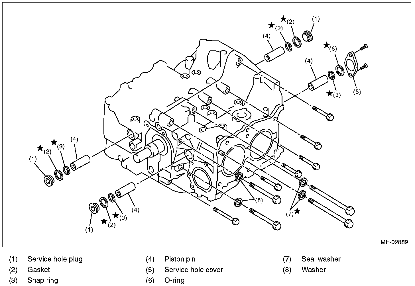
Cylinder Block Components (Part 1):




Cylinder Block Components (Part 2):




Crankshaft and Piston:





REMOVAL

NOTE:
Before conducting this procedure, drain the engine oil completely.

1) Remove the V-belts.
2) Remove the intake manifold.
3) Remove the crank pulley.
4) Remove the timing belt cover.
5) Remove the timing belt.
6) Remove the crank sprocket.
7) Remove the generator and A/C compressor with their brackets.
8) Remove the cylinder head.
9) Remove the drive plate. (CVT model)
10) Remove the clutch disc and cover. (MT model)
11) Remove the oil separator cover.
12) Remove the water by-pass pipe for heater.
13) Remove the water pump.
14) Remove the bolt which secures the oil pump to the cylinder block.

NOTE:
When disassembling and checking the oil pump, loosen the relief valve plug before removing the oil pump.





15) Remove the oil pump from cylinder block using a flat tip screwdriver.

CAUTION:
Be careful not to scratch the mating surface of cylinder block and oil pump.






16) Remove the front oil seal from the oil pump.
17) Remove the oil pan and cylinder block lower.
1) Set the part so that the cylinder block LH is on the upper side.
2) Remove the bolts which secure the oil pan to the cylinder block lower.
3) Insert an oil pan cutter blade into the gap between cylinder block lower and oil pan, and remove the oil pan.

CAUTION:
Do not use a screwdriver or similar tools in place of oil pan cutter.


4) Remove the bolts which secure the cylinder block lower to the cylinder block, and remove the cylinder block lower by using flat tip screwdriver.

CAUTION:
Insert the flat tip screwdriver to the position shown in the figure, and be careful not to damage the mating surface of the cylinder block and cylinder block lower.






18) Remove the oil strainer.
19) Remove the baffle plate.
20) Remove the oil filter.
21) Remove the water pipe assembly.








22) Remove the service hole plugs using a hexagon wrench [14 mm].





23) Remove the service hole cover.
24) Rotate the crankshaft to bring #1 and #2 pistons to bottom dead center position, then remove the piston snap ring through service hole of #1 and #2 cylinders.





25) Draw out the piston pin from #1 and #2 pistons using ST.

ST 499097700 PISTON PIN REMOVER

NOTE:
Be careful not to confuse the original combination of piston, piston pin and cylinder.





26) Similarly draw out the piston pins from #3 and #4 pistons.
27) Remove the cylinder block connecting bolt on the RH side.
28) Loosen the cylinder block connecting bolt on the LH side by 2 to 3 turns.
29) Set the part so that the cylinder block LH is on the upper side, and remove the cylinder block connecting bolt.
30) Separate the cylinder block LH and RH-

NOTE:
When separating the cylinder block, do not allow the connecting rod to fall or damage the cylinder block.





31) Remove the rear oil seal.
32) Remove the crankshaft along with the connecting rod.
33) Remove the crankshaft bearings from cylinder block using a hammer handle.

NOTE:
^ Press the crankshaft bearing at the end opposite to locking lip to remove.
^ Be careful not to confuse the crankshaft bearing combination.

34) Remove each piston from the cylinder block using a wooden bar or hammer handle.

NOTE:
Be careful not to confuse the original combination of piston and cylinder.