Operation CHARM: Car repair manuals for everyone.
Manuals through 2025 now available!

Our trusted friends have launched a new website named LEMON, which has newer manuals. It also contains all the CHARM manuals.

LEMON is the spiritual successor to CHARM, I recommend you try it!

Link: lemon-manuals.la or lemon-manuals.org.ua

(Some people have issue connecting. LEMON is investigating. For now, use Firefox or change your DNS server)

Or, hide this message: temporarily or permanently

Blower Motor: Testing and Inspection

Blower Motor

INSPECTION

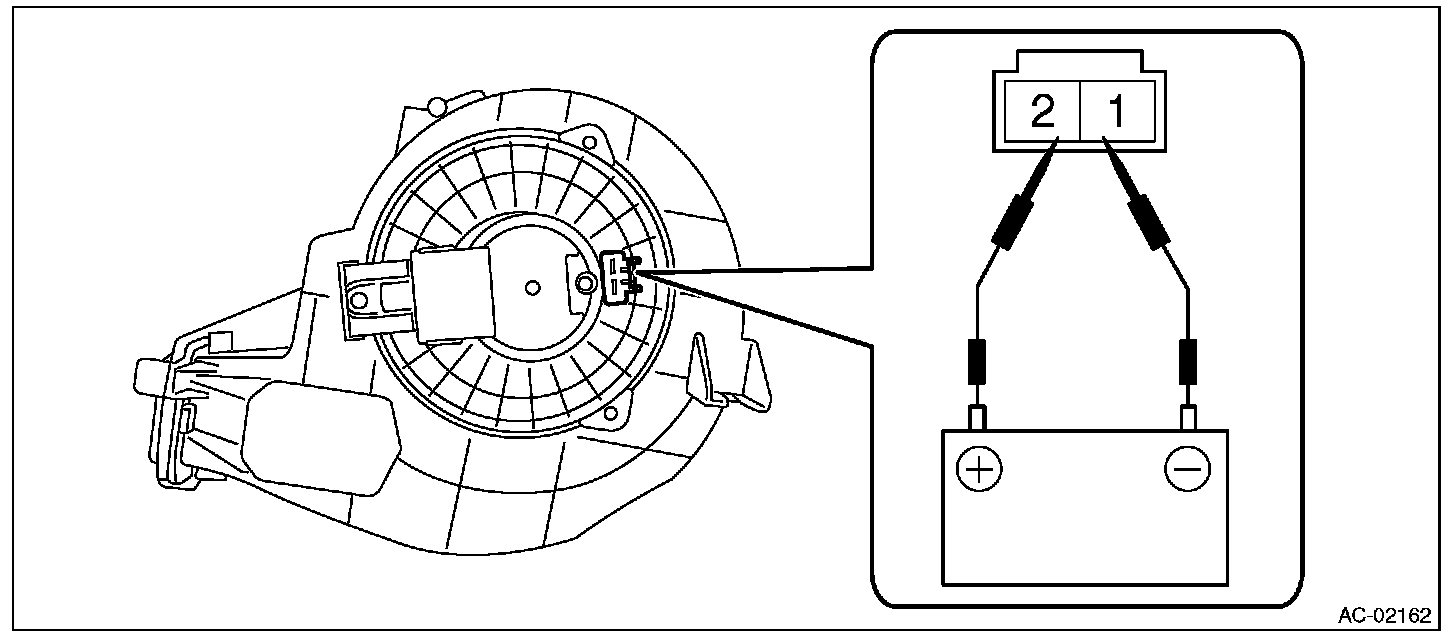
1. Disconnect the blower motor connector.
2. Apply battery voltage between the blower motor terminals
1. Connect the positive (+) cable to the No. 2 terminal.
2. Connect the negative (-) cable to the No. 1 terminal and check that the blower motor rotates normally.






3. If the blower motor does not operate normally, replace the blower motor.