Operation CHARM: Car repair manuals for everyone.
Manuals through 2025 now available!

Our trusted friends have launched a new website named LEMON, which has newer manuals. It also contains all the CHARM manuals.

LEMON is the spiritual successor to CHARM, I recommend you try it!

Link: lemon-manuals.la or lemon-manuals.org.ua

(Some people have issue connecting. LEMON is investigating. For now, use Firefox or change your DNS server)

Or, hide this message: temporarily or permanently

Diagnostic Procedure Without Diagnostic Trouble Code (DTC)

Diagnostic Procedure without Diagnostic Trouble Code (DTC)

CHECK SHIFT INDICATOR

DIAGNOSIS:
^ Output signal circuit of shift indicator is open or shorted.
^ Combination meter malfunction

TROUBLE SYMPTOM
^ Shift indicator does not display or remains displayed.
^ Shift indicator display does not change.

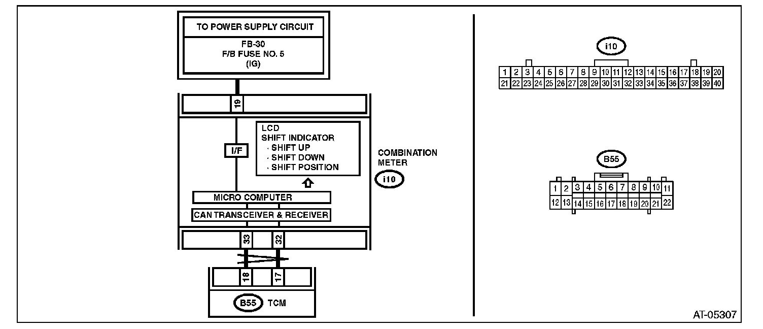
Wiring Diagram:




Step 1-5: