Operation CHARM: Car repair manuals for everyone.
Manuals through 2025 now available!

Our trusted friends have launched a new website named LEMON, which has newer manuals. It also contains all the CHARM manuals.

LEMON is the spiritual successor to CHARM, I recommend you try it!

Link: lemon-manuals.la or lemon-manuals.org.ua

(Some people have issue connecting. LEMON is investigating. For now, use Firefox or change your DNS server)

Or, hide this message: temporarily or permanently

Piston Ring, Engine

Cylinder and Piston
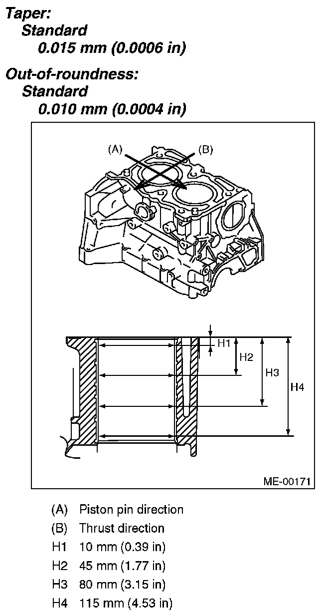
The cylinder bore size is stamped on the front upper face of the cylinder block
Standard sized pistons are classified into two grades, "A" and "B". These grades should be used as guidelines in selecting a standard piston.











Cylinder to piston clearance at 20° C (68° F) -0.015 - 0.005 mm (-0.00059 - 0.00020 in)
Cylinder inner diameter boring limit to 100.005 mm (3.9372 in)

Piston Pin
Make sure piston pin can be inserted into piston pin hole by a thumb at 20° C (68° F)





Piston Rings