Operation CHARM: Car repair manuals for everyone.
Manuals through 2025 now available!

Our trusted friends have launched a new website named LEMON, which has newer manuals. It also contains all the CHARM manuals.

LEMON is the spiritual successor to CHARM, I recommend you try it!

Link: lemon-manuals.la or lemon-manuals.org.ua

(Some people have issue connecting. LEMON is investigating. For now, use Firefox or change your DNS server)

Or, hide this message: temporarily or permanently

Front Differential Assembly

Front Differential Assembly

REMOVAL
1) Remove the transmission assembly from the vehicle.
2) Remove the air breather hose.
3) Remove the oil pan and control valve body.
4) Remove the transmission harness.
5) Remove the extension case.
6) Remove the rear drive shaft.
7) Remove the transfer clutch assembly.
8) Remove the transfer reduction driven gear assembly.
9) Remove the intermediate case.
10) Remove the forward clutch assembly.
11) Remove the reduction driven gear.
12) Remove the transmission case.
13) Remove the primary pulley, secondary pulley and variator chain.
14) Remove the drive pinion shaft assembly.
15) Remove the lock plates on both sides.





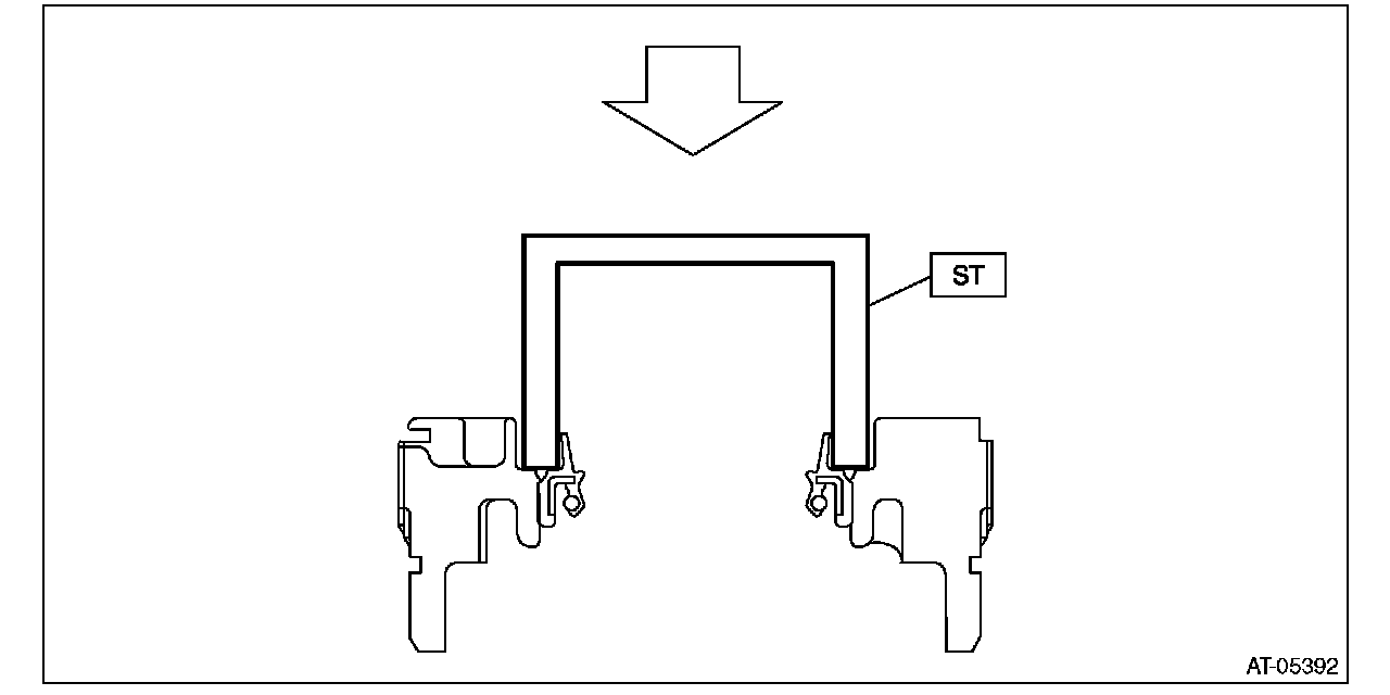
16) Remove the differential side retainers using ST.
ST 18658AA020 WRENCH COMPL RETAINER

NOTE:
^ Support the differential case assembly by hand to avoid damaging the retainer mounting hole of the converter case.
^ When keeping the retainers aside, use labels etc. to avoid confusing the left and right.





17) Remove the front differential assembly while being careful not to damage the attachment part of the retainer.
18) Remove the oil seals and O-rings from both differential side retainers.

INSTALLATION
1) Install the front differential assembly to the converter case.

NOTE:
Be careful not to damage the inside of the case (especially the mating surface of the differential side retainers).

2) Temporarily install the differential side retainers using ST.
ST18658AA020 WRENCH COMPL RETAINER





3) Adjust the backlash of the front differential.
4) Inspect and adjust the tooth contact.
5) Remove the differential side retainers and install the O-rings and oil seals.

NOTE:
^ Record how many turns were needed to remove.
^ Use new O-rings and oil seals.

6) Install the differential side retainers using ST.

NOTE:
When attaching, turn the differential side retainer by the same number of turns it took to remove, and align the marks.

ST 18658AA020 WRENCH COMPL RETAINER
7) Install the lock plate.





8) Install the drive pinion shaft assembly.
9) Install the primary pulley, secondary pulley and variator chain.
10) Install the transmission case.
11) Install the forward clutch assembly.
12) Install the intermediate case.
13) Install the transfer reduction driven gear assembly.
14) Install the transfer clutch assembly.
15) Install the rear drive shaft.
16) Install the extension case.
17) Install the transmission harness.
18) Install the control valve body and oil pan.
19) Install the air breather hose.
20) Install the transmission assembly to the vehicle.

DISASSEMBLY

DIFFERENTIAL CASE ASSEMBLY
1) Remove the taper roller bearing using the ST.
ST 498077000 REMOVER





2) Remove the hypoid driven gear mounting bolt using the ST.
ST18270KA020 SOCKET (E20)





3) Remove the differential case (LH).





4) Remove the differential bevel gear and washer from differential case.





5) Remove the straight pin.





6) Remove the pinion shaft, then remove the differential bevel gear, washer and differential bevel pinion.





SIDE RETAINER

NOTE:
After adjusting the drive pinion backlash and tooth contact, replace the oil seal and O-ring with new parts.

1) Remove the O-ring.





2) Remove the oil seal.





3) Remove the split pin (ST), and then remove the claw.
ST 398527700 PULLER ASSY





4) Attach two claws to the outer race, and set the ST to side retainer.
ST 398527700 PULLER ASSY





5) Restore the removed claws to original position, and install the pin and split pin.
6) Hold the shaft of ST to avoid removing from side retainer, and then remove the bearing outer race.
ST 398527700 PULLER ASSY

NOTE:
Replace the bearing inner and outer races as a single unit.





ASSEMBLY

DIFFERENTIAL CASE ASSY
1) Install the washer and differential bevel gear into differential case (LH).





2) Install the differential bevel gear pinions into differential case (LH). and install the pinion shaft.





3) Install the straight pin.





4) Install the differential case (RH) to hypoid driven gear and secure with vise.





5) Install the washer and differential bevel gear to the differential case (RH).





6) Using the ST, install the hypoid driven gear by tightening the installation bolt.
ST 18270KA020 SOCKET (E20)





7) Measurement of backlash (Selection of washer)
1) Install the SUBARU genuine axle shaft to differential case.
Part No. 38415AA070 Axle shaft
2) Measure the gear backlash using ST1 and ST2, and then insert the ST2 through the window of differential case.
ST1 498247001 MAGNET BASE
ST2 498247100 Dial gauge

NOTE:
^ Measure the backlash by applying a differential bevel pinion tooth between two differential bevel gear teeth.
^ When measuring, fix the differential bevel pinion gear in place with a screwdriver covered with waste cloth, or a similar tool.





3) If the backlash is not within specification, select a washer from the table below and replace.





8) Using the ST, install the left and right taper roller bearings.
ST1 499277100 BUSHING 1-2 INSTALLER
ST2 398497701 SEAT





SIDE RETAINER

NOTE:
After adjusting the backlash and tooth contact, replace the oil seal and O-ring of side retainer with new parts.

1) Press-fit the bearing outer race to side retainer.
2) Using the ST, install the oil seal.

NOTE:
^ Use a new oil seal.
^ Apply differential oil to the oil seal lip.
^ Oil seal has an identification mark (R, L). When installing oil seals, do not confuse the left and right.

ST 18675AA000 DIFFERENTIAL SIDE OIL SEAL INSTALLER





3) Install the O-ring.

NOTE:
Use new O-rings.





INSPECTION
^ Check each component for scratches, damage or other faults.
^ Inspect the backlash of the pinion gear.





^ Measure the hypoid gear backlash, and then adjust it to be within specification.

ADJUSTMENT
1) Using the ST, screw-in the retainer until resistance is felt.

NOTE:
RH side should be screwed-in more than LH side.

ST 18658AA020 WRENCH COMPL RETAINER





2) Remove the remaining liquid gasket from the mating surface completely.
3) Using the ST, install the drive pinion assembly to converter case.
ST1 18270KA020 SOCKET (E20)

NOTE:
Do not confuse the three different-length bolts when installing.





4) Rotate the drive pinion shaft more than ten times using ST1 and ST2.
ST1 18667AA010 HOLDER
ST2 499787700 Wrench





5) While rotating the pinion shaft, keep tightening the retainer LH, and loosening the retainer RH until the pinion shaft no longer be turned. When pinion shaft no longer turns, backlash is "zero".
6) After the "zero" state is established, loosen the retainer LH by 3 notches and secure it with the lock plate. Loosen the retainer RH and retighten until it stops. Rotate the drive pinion 2 or 3 times. Tighten the retainer RH further 1-3/4 notches. This sets the preload. Finally, secure the retainer with its lock plate.





NOTE:
Turning the retainer by every one tooth changes the backlash approx. 0.05 mm (0.0020 in).





7) Insert the two Subaru genuine axle shaft into differential case.
Part No.38415AA070 Axle shaft
8) Wrap the drive shaft pinion shaft with cloth and pinch with vise pliers. Install the installation bolt into the bolt hole of secondary pulley and secure the bolt and vise pliers using a band or wire. Make sure the drive pinion shaft does not move.





9) Check the backlash is within specification using ST1, ST2 and ST3.
ST1 498255400 PLATE
ST2 498247100 DIAL GAUGE
ST3 498247001 MAGNET BASE





10) Adjust the teeth contact of the front differential and drive shaft.