Operation CHARM: Car repair manuals for everyone.
Manuals through 2025 now available!

Our trusted friends have launched a new website named LEMON, which has newer manuals. It also contains all the CHARM manuals.

LEMON is the spiritual successor to CHARM, I recommend you try it!

Link: lemon-manuals.la or lemon-manuals.org.ua

(Some people have issue connecting. LEMON is investigating. For now, use Firefox or change your DNS server)

Or, hide this message: temporarily or permanently

Transfer Reduction Driven Gear

Transfer Reduction Driven Gear

REMOVAL
1) Remove the transmission assembly from the vehicle.
2) Remove the front wheel speed sensor, and remove the extension case.
3) Remove the transfer clutch assembly.
4) Remove the transfer reduction driven gear assembly.





INSTALLATION
1) Install the reduction driven gear assembly.





2) Select shims.
3) Mount the selected shim onto ball bearing.
4) Install the transfer clutch assembly.
5) Install the extension case.
6) Install the transmission assembly to the vehicle.

DISASSEMBLY
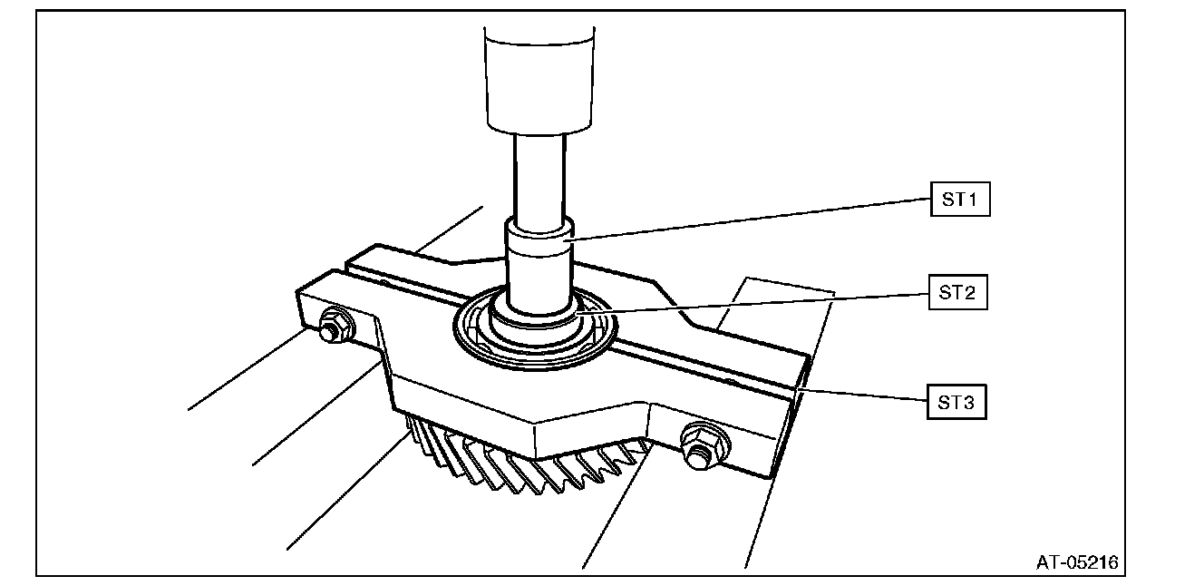
1) Using the ST, remove the ball bearing (large) from transfer reduction driven gear.
ST1 899864100 REMOVER
ST2 398497701 SEAT
ST3 498077600 REMOVER





2) Using the ST, remove the ball bearing (small) from transfer reduction driven gear.
ST1 899864100 REMOVER
ST2 398497701 SEAT
ST3 18720AA000 REMOVER





ASSEMBLY
1) Install the new ball bearing (large) to reduction driven gear using the ST.
ST 499277100 REMOVER

NOTE:
^ Use a new ball bearing.
^ Install to the splines inside transfer reduction driven gear shaft.





2) Install the new ball bearing (small) to reduction driven gear.

NOTE:
Use a new ball bearing.

ST 499277100 REMOVER





INSPECTION
^ Check the ball bearing for smooth rotation.
^ Check the ball bearing for excessive looseness.
^ Make sure the gear is not broken or damaged.

ADJUSTMENT
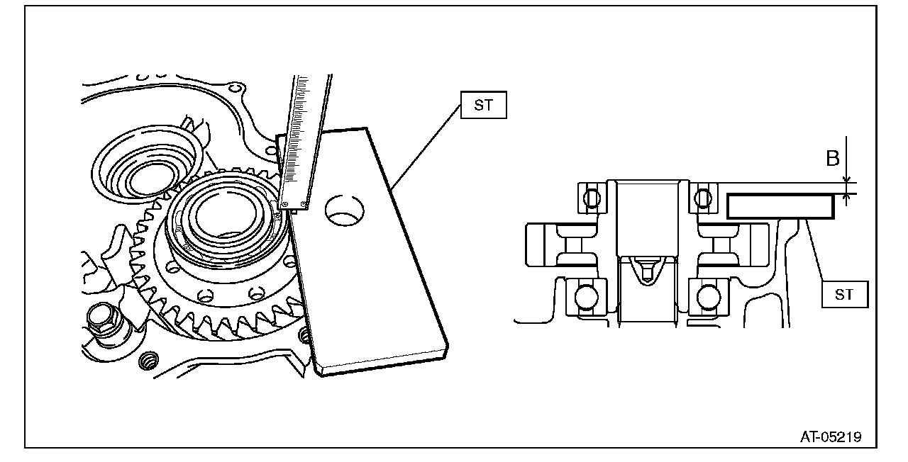
1) Measure depth "A" from the ST upper face to the ball bearing catch surface.
ST 398643600 GAUGE





2) Measure height "B" from the ST to the end of the ball bearing outer ring.
ST 398643600 GAUGE





3) Obtain the thickness of shim using the following formula to select none to two shims.
T mm = (A - 15) - (B + 15) - (0.05 - 0.25)
[T in = (A - 0.591) - (B + 0.591) - (0.002 - 0.01)]
T: Shim thickness
A: Depth from the ST upper face to the ball bearing catch surface
B: Height from the ST to the end of the ball bearing outer ring
15 mm (0.591 in): Thickness of ST
0.05 - 0.25 mm (0.002 - 0.01 in): Clearance