Operation CHARM: Car repair manuals for everyone.
Manuals through 2025 now available!

Our trusted friends have launched a new website named LEMON, which has newer manuals. It also contains all the CHARM manuals.

LEMON is the spiritual successor to CHARM, I recommend you try it!

Link: lemon-manuals.la or lemon-manuals.org.ua

(Some people have issue connecting. LEMON is investigating. For now, use Firefox or change your DNS server)

Or, hide this message: temporarily or permanently

Piston Ring, Engine

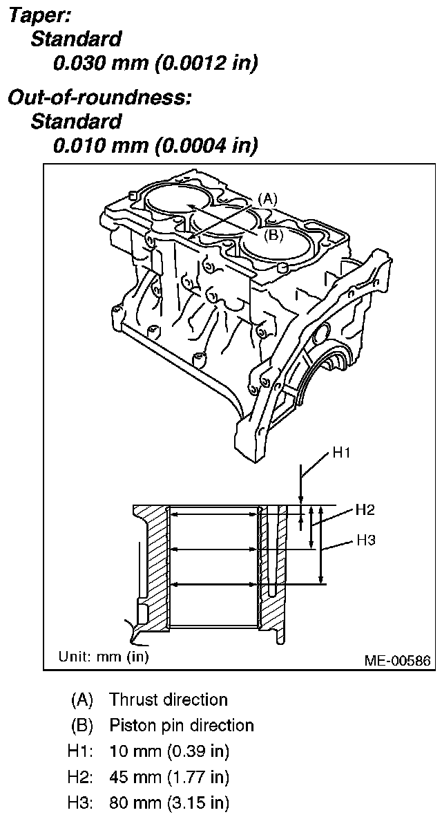
Cylinder and Piston
The cylinder bore size is stamped on the front upper face of the cylinder block
Standard sized pistons are classified into two grades, "A" and "B". These grades should be used as guide lines in selecting a standard piston.











Cylinder to piston clearance at 20 degrees C (68 degrees F) -0.010 - 0.010 mm (-0.0004 - 0.0004 in)
Cylinder inner diameter boring limit (diameter) to 92.515 mm (3.6717 in)

Piston Pin
Make sure piston pin can be inserted into piston pin hole by a thumb at 20° C (68° F)





Piston Rings