Operation CHARM: Car repair manuals for everyone.
Manuals through 2025 now available!

Our trusted friends have launched a new website named LEMON, which has newer manuals. It also contains all the CHARM manuals.

LEMON is the spiritual successor to CHARM, I recommend you try it!

Link: lemon-manuals.la or lemon-manuals.org.ua

(Some people have issue connecting. LEMON is investigating. For now, use Firefox or change your DNS server)

Or, hide this message: temporarily or permanently

System Specifications

Timing Chain Tensioner Bolts 16 Nm (1.6 kgf-m, 11.8 ft-lb)

Crank Pulley Bolt 195 Nm (19.9 kgf-m, 143.8 ft-lb)

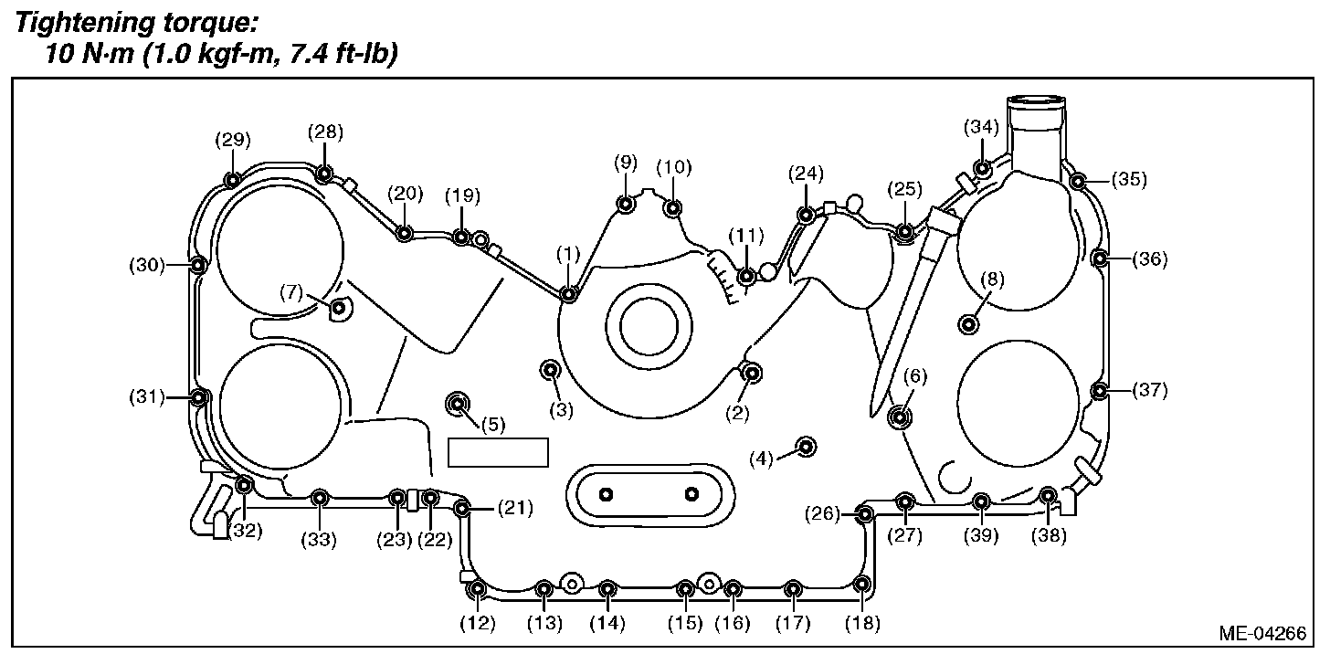
Timing Chain Cover Bolts

CAUTION: Do not install the chain cover installation bolts in wrong place.