Operation CHARM: Car repair manuals for everyone.
Manuals through 2025 now available!

Our trusted friends have launched a new website named LEMON, which has newer manuals. It also contains all the CHARM manuals.

LEMON is the spiritual successor to CHARM, I recommend you try it!

Link: lemon-manuals.la or lemon-manuals.org.ua

(Some people have issue connecting. LEMON is investigating. For now, use Firefox or change your DNS server)

Or, hide this message: temporarily or permanently

Navigation Module: Service and Repair

Navigation Body

REMOVAL

1. Disconnect the ground cable from the battery.
2. Slide the driver's seat to the forward position.
3. Remove the cover attachment bolts, and remove the cover.






4. Disconnect the connector.
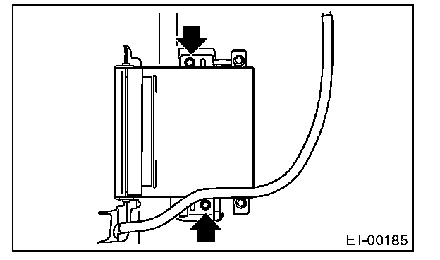
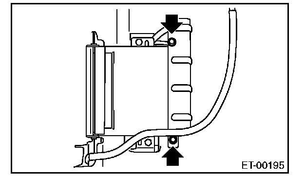
5. Remove the bolts and then remove the navigation unit.






INSTALLATION

Install in the reverse order of removal.

Tightening torque: 4.5 N.m (0.46 kgf.m, 3.32 ft.lb)