Operation CHARM: Car repair manuals for everyone.
Manuals through 2025 now available!

Our trusted friends have launched a new website named LEMON, which has newer manuals. It also contains all the CHARM manuals.

LEMON is the spiritual successor to CHARM, I recommend you try it!

Link: lemon-manuals.la or lemon-manuals.org.ua

(Some people have issue connecting. LEMON is investigating. For now, use Firefox or change your DNS server)

Or, hide this message: temporarily or permanently

Windshield: Service and Repair

WINDSHIELD GLASS


Fixed Glass:






REMOVAL

1. WHEN USING THE WINDSHIELD GLASS KNIFE
1. Remove the front pillar trim (passenger's side) and disconnect the wiper deicer connector. (Models with wiper deicer)
2. Remove the cowl panel.
3. Remove the molding front.
4. Tape the body side of the circumference of windshield glass for protection.
5. Apply sufficient amount of soapy water to the adhesive part.
6. Make a cut in the adhesive part using a cutter blade so that windshield glass knife can be inserted easily.
7. Insert the windshield glass knife into adhesive part.
8. While holding the knife edge and windshield glass edge at a right angle, move the windshield glass knife in parallel to the windshield glass edge along the surface and edge of windshield glass to cut the adhesive part.

NOTE:
- Do not twist the windshield glass knife.
- Cutting of adhesive part shall be started with wider gap between windshield glass and body.







- The locating pins are bonded to the corners of glass. Use piano wire to disconnect the pins.







2. USING PIANO WIRE
1. Remove the front pillar trim (passenger's side) and disconnect the wiper deicer connector. (Model with wiper deicer)
2. Remove the cowl panel. {Ref. to EI-30, REMOVAL, Cowl Panel.}
3. Remove the molding front.
4. Apply protective tape to the body panel side to enclose the windshield glass.
5. Make a hole in the adhesive part using drill or knife.
6. Pass the piano wire through the hole, and attach both the wire ends securely to pieces of wood.







7. Pull the wire ends alternately to cut off the adhesive part.

CAUTION:
- Do not tightly pull the piano wire against the windshield glass edge.
- Be careful not to damage interior and exterior parts.
- When removal is made with area close to instrument panel, place a protection plate over it. Pay particular attention to the removal.
- Do not cross piano wires. Otherwise they may be cut.


INSTALLATION

1. Clean the external circumference of windshield glass with alcohol or white gasoline.
2. Remove the adhesive layer on the body using cutter knife to obtain smooth face of 2 mm (0.08 in) thick.

CAUTION: Be careful not to damage the body and paint surface.







3. Clean the body with alcohol or white gasoline to eliminate cutting powder, dust and dirt completely from body.
4. Attach the dam rubber to the backside of the glass.
5. Attach the spacer to the lower end of the glass on passenger's side only.







6. Install the molding to the glass.







1. Align the molding (A) with both ends of the upper edge of the windshield glass (C).
2. Install the molding from both corners of the upper edge toward the center.
3. Install the molding from both corners of the upper edge toward the lower side.
4. Apply the double-sided tapes (B) uniformly on both sides of the glass.
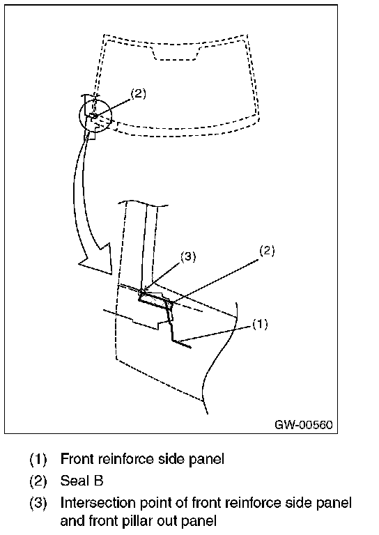
5. Attach the seal A (3) to the backside of the molding.







7. Apply the seal B (2) to terminal section of front reinforce side panel (1) and the intersection point (3) of front reinforce side panel and front pillar out panel.







8. Apply two types of primers to the adhesive layer of glass using sponge.

Glass primer:
Dow Automotive's
ESSEX U-401, U-402


9. Apply the primer to the adhesive layer of body.

Painted surface primer:
Dow Automotive's
ESSEX U-413


NOTE:
- Primer once attached to the painted surface of the body and internal trim is hard to wipe off. Mask the circumference of such area.
- Let primer dry for about ten minutes before installing the glass.







- Do not touch the surface coated with primer.

10. Cut off the cartridge nozzle tip as shown and set it in sealant gun.







11. Apply adhesive to the glass end surface as shown.

Adhesive:
Dow Automotive's
ESSEX U-400HV or equivalent








12. Fit the locating pins, and install windshield glass using suction rubber cup.







13. Lightly press the windshield glass for tight fit.
14. Make flush the adhesive surface jutted out using spatula.
15. After completion of all work, allow the vehicle to stand for about 24 hours.

NOTE:
- When door is opened/closed after glass is bonded, always lower the door glass first, and then open/close it carefully.
- Move the vehicle slowly.
- For minimum drying time and vehicle standing time before driving after bonding, follow instructions or instruction manual from the adhesive manufacturer.

16. After curing of adhesive, pour the water on external surface of vehicle to check that there are no water leaks.

NOTE: When a vehicle is returned to the user, tell him or her that the vehicle should not be subjected to heavy impact for at least three days.

17. Install the cowl panel.