Operation CHARM: Car repair manuals for everyone.
Manuals through 2025 now available!

Our trusted friends have launched a new website named LEMON, which has newer manuals. It also contains all the CHARM manuals.

LEMON is the spiritual successor to CHARM, I recommend you try it!

Link: lemon-manuals.la or lemon-manuals.org.ua

(Some people have issue connecting. LEMON is investigating. For now, use Firefox or change your DNS server)

Or, hide this message: temporarily or permanently

Front Brake

Assembly

1. Temporarily tightening of front disc brake bleeder plug
(1) Temporarily tighten the front disc brake bleeder plug to the front disc brake cylinder ASSY LH.
2. Installation of front disc brake bleeder plug cap
(1) Install the front disc brake bleeder plug cap to the front disc brake bleeder plug.





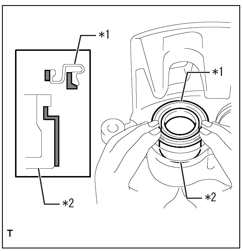
3. Installation of piston seal
(1) Apply rubber grease all around 2 new piston seals.

Captions in illustration





(2) Securely install 2 piston seals to the disc brake cylinder grooves.





4. Installation of front disc brake piston
(1) Apply rubber grease to a new cylinder boot.

Captions in illustration





(2) Securely install the cylinder boot to the front disc brake piston groove.
(3) Apply a thin coat of rubber grease to the outer peripheries of 2 front disc brake pistons, and install them to the front disc brake cylinder ASSY LH.

CAUTION:
Do not push the front disc brake piston in with excessive force.


5. Installation of cylinder boot
(1) Securely install the cylinder boot to the front disc brake cylinder ASSY LH groove.





Captions in illustration