Operation CHARM: Car repair manuals for everyone.
Manuals through 2025 now available!

Our trusted friends have launched a new website named LEMON, which has newer manuals. It also contains all the CHARM manuals.

LEMON is the spiritual successor to CHARM, I recommend you try it!

Link: lemon-manuals.la or lemon-manuals.org.ua

(Some people have issue connecting. LEMON is investigating. For now, use Firefox or change your DNS server)

Or, hide this message: temporarily or permanently

Neutral Start Relay (Inhibitor Relay): Testing and Inspection

Relay

On-vehicle inspection





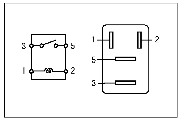
1. ST relay check
(1) Check the resistance between relay connector terminals.

Resistance value








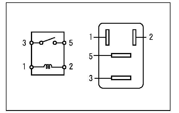
2. INHIBITOR relay check
(1) Check the resistance between relay connector terminals.

Resistance value








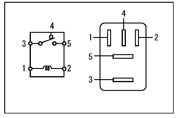
3. ST CUT relay check (with smart key system)
(1) Check the resistance between relay connector terminals.

Resistance value








4. IGS relay check (with smart key system)
(1) Check the resistance between relay connector terminals.

Resistance value