Operation CHARM: Car repair manuals for everyone.
Manuals through 2025 now available!

Our trusted friends have launched a new website named LEMON, which has newer manuals. It also contains all the CHARM manuals.

LEMON is the spiritual successor to CHARM, I recommend you try it!

Link: lemon-manuals.la or lemon-manuals.org.ua

(Some people have issue connecting. LEMON is investigating. For now, use Firefox or change your DNS server)

Or, hide this message: temporarily or permanently

Reassembly

REASSEMBLY





1. INSTALL STARTER CLUTCH SUB-ASSEMBLY (for Manual Transmission)
(1) Apply grease to the shaft as shown in the illustration.

Text in Illustration








(2) Install the internal gear to the shaft.





(3) Apply grease to the shaft as shown in the illustration.

Text in Illustration








(4) Install the over running clutch to the shaft.





(5) Install the stopper to the shaft.
Using snap ring pliers, install the snap ring.





(6) Using a press, press the snap ring into the stopper.

Text in Illustration








(7) Install the starter clutch sub-assembly together with the drive lever set pin to the starter drive housing assembly.





2. INSTALL STARTER PLANETARY GEAR (for Manual Transmission).
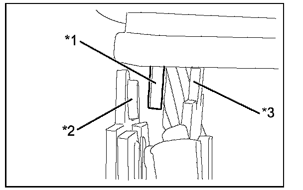
(1) Apply high-temperature grease to the planetary gears and pins of the planetary shaft.
(2) Install the 3 starter planetary gears.

Text in Illustration








3. INSTALL STARTER PLANETARY GEAR (for Automatic Transmission)
(1) Apply high-temperature grease to the planetary gears and pins of the planetary shaft.
(2) Install the 3 starter planetary gears.

Text in Illustration








4. INSTALL STARTER HOUSING RUBBER (for Manual Transmission)
(1) Install the starter housing rubber, seal rubber and plate to the starter drive housing assembly.

Text in Illustration








5. INSTALL RUBBER SEAL (for Automatic Transmission)
(1) Install the rubber seal to the starter drive housing assembly.

Text in Illustration








6. INSTALL STARTER ARMATURE ASSEMBLY (for Automatic Transmission)
(1) Install the starter armature assembly to the starter yoke assembly.

Text in Illustration








7. INSTALL STARTER BRUSH HOLDER ASSEMBLY (for Automatic Transmission)
(1) Install the 4 brushes and 4 brush springs.





(2) Install the starter brush holder assembly to the starter armature assembly. Push the 4 brushes.





(3) Insert the grommet between the positive (+) motor read wire and the negative (-) brush holder plate.

Text in Illustration





8. INSTALL STARTER COVER (for Automatic Transmission)
(1) Install the dust starter protector to the starter yoke assembly.





(2) Align the starter brush holder assembly read wire rubber with the groove of the starter cover.





(3) Install the starter cover to the starter brush holder assembly with 2 screws.
Standard value:T=1.5Nm {15kgf-cm} {1.1ft-lbf}
9. INSTALL STARTER ARMATURE PLATE (for Automatic Transmission)
(1) Align the claw of the starter yoke assembly with the groove the starter armature plate.
(2) Install the starter armature plate to the starter yoke assembly.





Text in Illustration








10. INSTALL STARTER ARMATURE ASSEMBLY (for Manual Transmission)
(1) Install the starter armature assembly to the starter yoke assembly.





11. INSTALL STARTER YOKE ASSEMBLY (for Manual Transmission)
(1) Align the claw of the starter yoke assembly with the groove inside the starter drive housing assembly.

Text in Illustration








(2) Install the starter yoke assembly together with the starter armature assembly to the starter drive housing assembly.





12. INSTALL STARTER YOKE ASSEMBLY (for Automatic Transmission)
(1) Align the claw of the starter yoke assembly with the groove inside the starter drive housing assembly. Install the starter yoke assembly together with the starter armature assembly to the starter drive housing assembly.

Text in Illustration








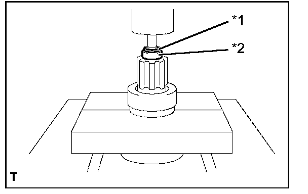
(2) Using a "TORX" socket wrench T25, install the 2 through bolts.
Standard value:T=6.0Nm {61kgf-cm} {4.4ft-lbf}





13. INSTALL STARTER BRUSH HOLDER ASSEMBLY (for Manual Transmission)
(1) Install a socket to the starter brush holder assembly.
(2) Install the starter brush holder assembly to the starter armature assembly.





14. INSTALL STARTER COVER (for Manual Transmission)
(1) Install the starter cover with 2 screws and 2 bolts.
Torque: Bolt 6.0 Nm {61 kgf-cm} {4.4ft-lbf}
Screw 1.4 Nm {14 kgf-cm} {1.0ft-lbf}





15. INSTALL MAGNET STARTER SWITCH ASSEMBLY (for Manual Transmission)
(1) Install the magnet starter switch assembly with the 2 screws.
Standard value:T=7.5Nm {77kgf-cm} {5.5ft-lbf}





(2) Connect the lead wire to terminal C with the nut.
Standard value:T=10Nm {102kgf-cm} {7.4ft-lbf}





16. INSTALL MAGNET STARTER SWITCH ASSEMBLY (for Automatic Transmission)
(1) Apply grease to the plunger and hook as shown in the illustration.

Text in Illustration








(2) Hook the plunger and hook of the magnet starter switch assembly to the lever of the starter drive housing assembly.

Text in Illustration








(3) Install the magnet starter switch assembly with the 2 screws.
Standard value:T=7.5Nm {77kgf-cm} {5.5ft-lbf}





(4) Connect the lead wire to terminal C with the nut.
Standard value:T=10Nm {102kgf-cm} {7.4ft-lbf}