Operation CHARM: Car repair manuals for everyone.
Manuals through 2025 now available!

Our trusted friends have launched a new website named LEMON, which has newer manuals. It also contains all the CHARM manuals.

LEMON is the spiritual successor to CHARM, I recommend you try it!

Link: lemon-manuals.la or lemon-manuals.org.ua

(Some people have issue connecting. LEMON is investigating. For now, use Firefox or change your DNS server)

Or, hide this message: temporarily or permanently

Starter Motor: Testing and Inspection

INSPECTION

1. INSPECT STARTER ASSEMBLY

WARNING:
As a large electric current passes through the cable during this inspection, a thick cable must be used. If not, the cable may become hot and cause injury.


CAUTION:
The following tests must each be performed within 3 to 5 seconds to prevent the coil from burning out.


(1) Mount the starter in a vise between aluminum plates.
(2) Perform a pull-in test.
(a) Remove the nut, and then disconnect the lead wire from terminal M.





(b) Connect the battery to the starter as shown in the illustration. Check that the clutch pinion gear extends.

Text in Illustration





If the clutch pinion gear does not move, inspect the magnet starter switch assembly. If the magnet starter switch assembly is not as specified, replace it.





(3) Perform a holding test.
(a) Disconnect the negative (-) terminal lead from terminal M while the conditions specified in the pull-in test above are maintained. Check that the pinion gear remains out.

Text in Illustration





If the clutch pinion gear returns inward, inspect the magnet starter switch assembly. If the magnet starter switch assembly is not as specified, replace it.





(4) Inspect the clutch pinion gear return.
(a) Disconnect the negative (-) terminal lead from the starter body. Check that the clutch pinion gear returns inward.

Text in Illustration





If the clutch pinion gear does not return inward, inspect the magnet starter switch assembly. If the magnet starter switch assembly is not as specified, replace it.





(5) Perform an operation test without load.
(a) Connect the lead wire to terminal C with the nut.
Standard value:T=10Nm {102kgf-cm} {7.4ft-lbf}
(b) Connect the battery and an ammeter to the starter as shown in the Illustration.

Text in Illustration





(c) Check that the starter rotates smoothly and steadily while the clutch pinion gear is extended. Then measure the current.

Standard Current





If the result is not as specified, inspect the starter assembly.

NOTE:
Inspect the starter armature assembly, starter commutator end frame assembly and magnet starter switch assembly. If there is a malfunction, replace the part and perform again this test.

2. INSPECT STARTER ARMATURE ASSEMBLY (for Manual Transmission)
(1) Check the commutator for signs of seizure or stepped wear caused by roughness of the surface. If there is light wear, use sandpaper to repair.





(2) Check for runout on the commutator. If excessive, replace the armature.
Standard runout: 0.05 mm (0.002 in.)
Maximum runout: 0.10 mm (0.004 in.)

Text in Illustration








(3) Check the depth of the segment mold. If it is not within the standard, replace the armature.
Standard depth: 0.05 mm (0.002 in.)

Text in Illustration








(4) Place the armature on the growler tester to check for short circuits. While slowly turning the armature, support the steel sheet for the armature core. If the circuit of the armature is shorted, the steel sheet will vibrate, causing it to move towards the core. When the steel sheet has moved or vibrated, replace the armature.

Text in Illustration





(5) Touch the probe of one side to the commutator segment, and the other probe to the shaft. If there is continuity, replace the armature.





3. INSPECT STARTER ARMATURE ASSEMBLY (for Automatic Transmission)
(1) Check the commutator for dirt and/or burns on the surface.If the surface is dirty or burnt, correct it with sandpaper (No. 400) or a lathe. If necessary,replace the starter armature assembly.





(2) Inspect the commutator for an open circuit.
(a) Measure the resistance according to the value(s) in the table below.

Text in Illustration





Standard Resistance





If the result is not as specified, replace the starter armature assembly.





(3) Inspect the commutator for short circuits.
(a) Measure the resistance according to the value(s) in the table below.

Text in Illustration





Standard Resistance





If the result is not as specified, replace the starter armature assembly.
(4) Check the commutator for signs of seizure or stepped wear caused by roughness of the surface.If there is light wear, use sandpaper to repair.





(5) Check for runout on the commutator. If excessive,replace the armature.
Standard runout: 0.02 mm (0.0008 in.)
Maximum runout: 0.05 mm (0.002 in.)

Text in Illustration





If the result is not as specified, replace the starter armature assembly.





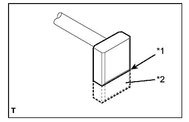
(6) Using vernier caliper, measure the commutator diameter.

Text in Illustration





Standard diameter: 29 mm (1.1417 in.)
Minimum diameter: 28 mm (1.1024 in.)
If the diameter is less than the minimum, replace the starter armature assembly.





(7) Using vernier caliper, measure the under cut depth of the segment. If it is not within the standard, replace the starter armature assembly.
Standard depth: 0.7 mm (0.0276 in.)
Minimum depth: 0.2 mm (0.0079 in.)
4. INSPECT STARTER YOKE ASSEMBLY (for Manual Transmission)
(1) Make sure that the pole is set at the predetermined position.
5. INSPECT STARTER BRUSH HOLDER ASSEMBLY(for Manual Transmission)
(1) Visually check the brush. If there is any abnormal wear or cracks, replace the brush.





(2) Measure the length of the brush. If it exceeds the service limits, replace the brush.
Standard length: 12.3 mm (0.484 in.)
Minimum length: 7.0 mm (0.276 in.)

Text in Illustration





(3) Check that the brush moves smoothly in the brush holder.
(4) Measure the brush spring force with a spring scale.Replace the brush holder if below the service limit.
Standard brush spring force: 15.9 to 19.5 N (1.6 to 2.0 kgf, 3.6 to 4.4 lbf)
Minimum brush spring force: 2.5 N (0.3 kgf, 0.6 lbf)





6. INSPECT STARTER BRUSH HOLDER ASSEMBLY (for Automatic Transmission)
(1) Using a vernier caliper, measure the brush length.

Text in Illustration





Standard length: 14.4 mm (0.5669 in.)
Minimum length: 9.0 mm (0.3543 in.)
If the length is less than the minimum, replace the starter brush holder assembly.





(2) Measure the resistance according to the value(s) in the table below.
Standard Resistance





If the result is not as specified, replace the starter brush holder assembly.
7. INSPECT STARTER CLUTCH SUB-ASSEMBLY (for Manual Transmission)
(1) Check the gear teeth on the planetary gear, internal gear and starter clutch for wear or damage. If any of the gears is damaged, replace the starter center bearing clutch sub-assembly.





(2) Check the starter clutch pinion gear.
(a) Hold the starter clutch, rotate the pinion gear clockwise and check that it turns freely. Try to rotate the pinion gear counterclockwise and check that it locks.

Text in Illustration





If necessary, replace the starter clutch subassembly.





8. INSPECT MAGNET STARTER SWITCH ASSEMBLY(for Manual Transmission)
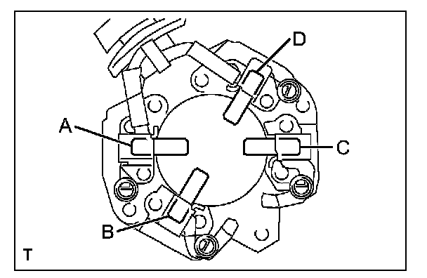
(1) Check that there is continuity between terminals 50 and C, and between terminal 50 and ground. Also, check to be sure there is no continuity between terminal C and 30.
Standard Resistance





Text in Illustration





(2) Using a lead wire, connect the switch assembly terminal 50 to the positive terminal of the battery, and the starter body to the ground terminal of the battery. The pinion should be forced to be pushed out on the shaft.

NOTE:
With the pinion forced to be pushed out on the shaft, the starter motor can sometimes rotate because the current flows, through pull-in coil, to motor. This is not a problem.





(3) Disconnect the connector from terminal M. Then, using a lead wire, connect the positive terminal of the battery and terminal M, and ground terminal to starter body. In this test set up, the pinion should return to its original position even when it is pulled out with a screwdriver.

Text in Illustration








9. INSPECT MAGNET STARTER SWITCH ASSEMBLY(for Automatic Transmission)
(1) Check the plunger.
(a) Push in the plunger and check that it returns quickly to it is original position. If necessary, replace the magnet starter switch assembly.





(2) Inspect the pull-in coil.
(a) Measure the resistance according to the value(s) in the table below.

Standard Resistance





Text in Illustration





If the result is not as specified, replace the magnet starter switch assembly.





(3) Inspect the holding coil.
(a) Measure the resistance according to the value(s) in the table below.

Standard Resistance





Text in Illustration





If the result is not as specified, replace the magnet starter switch assembly.