Operation CHARM: Car repair manuals for everyone.
Manuals through 2025 now available!

Our trusted friends have launched a new website named LEMON, which has newer manuals. It also contains all the CHARM manuals.

LEMON is the spiritual successor to CHARM, I recommend you try it!

Link: lemon-manuals.la or lemon-manuals.org.ua

(Some people have issue connecting. LEMON is investigating. For now, use Firefox or change your DNS server)

Or, hide this message: temporarily or permanently

Part 2





25. Installation of one-way clutch ASSY
(1) Install the No.1 planetary carrier thrust washer and one-way clutch ASSY to the automatic transmission case SUB-ASSY.

Captions in illustration








26. Installation of No.3 brake piston
(1) Apply ATF to 2 new O-rings and install them to the No.3 brake piston.

Captions in illustration





(2) Press the No.3 brake piston into the No.3 brake cylinder.

CAUTION:
Be careful not to damage the O-ring.






(3) Use the SST and a press to install the snap ring and No.3 brake piston return spring SUB-ASSY to the No.3 brake cylinder.

Captions in illustration





SST 18762AA020

CAUTION:
^ Check that the gap of the snap ring end is not aligned with the claw of the spring retainer.
^ Be careful not to damage the No.3 brake cylinder.
^ Keep the foot of SST from standing on the protrusion of the piston return spring SUB-ASSY.


NOTE:
Wrap the tip of a flat tip screwdriver with tape before using it.





27. Installation of No.3 brake cylinder
(1) Install the No.3 brake cylinder to the automatic transmission case SUB-ASSY.





(2) Check that the oil pressure apply hole of the No.3 brake cylinder is aligned with the oil pressure apply hole of the automatic transmission case SUB-ASSY.





(3) Install the snap ring to the automatic transmission case SUBASSY.

NOTE:
Install the joint of the snap ring toward the control valve side.





28. Installation of No.3 brake disc set
(1) Install No.3 brake flange, 3 No.3 brake discs, and 3 No.3 brake plates to the automatic transmission case SUB-ASSY.

Captions in illustration





Installation order: *1 - *2 - *1 - *2 - *1 - *2 - *3

CAUTION:
Check that the disc, plate, and flange are installed in the correct order.






(2) Use a flat tip screwdriver to install the snap ring to the automatic transmission case SUB-ASSY.

Captions in illustration





CAUTION:
Be careful not to damage the automatic transmission case SUB-ASSY.


NOTE:
Wrap the tip of a flat tip screwdriver with tape before using it.





29. Installation of direct clutch piston SUB-ASSY
(1) Apply ATF to 2 new O-rings and install them to the direct clutch piston SUB-ASSY.

Captions in illustration








(2) Apply ATF to a new O-ring and install it to the No.2 clutch balancer.

Captions in illustration





(3) Install the No.2 clutch balancer and direct clutch return spring SUB-ASSY to the direct clutch piston SUB-ASSY.





Captions in illustration





(4) Push the direct clutch piston SUB-ASSY into the reverse clutch drum SUB-ASSY by hand.

CAUTION:
Be careful not to damage the O-ring.






(5) Place the SST on the No.2 clutch balancer and press the direct clutch return spring SUB-ASSY using a press.
SST 09320-89010

CAUTION:
To avoid the deformation of the spring seat, stop pressing the spring seat when it descends to 1 to 2 mm {0.0394 to 0.0787 in} from the groove of the snap ring.


(6) Install the snap ring.

CAUTION:
^ Check that the gap of the snap ring end is not aligned with the claw of the spring retainer.
^ Do not stretch the snap ring excessively.






(7) Insert the gap of the snap ring end into the No.2 clutch balancer as shown in the figure.

Captions in illustration








30. Installation of reverse clutch piston SUB-ASSY
(1) Apply ATF to a new O-ring and install it to the reverse clutch drum SUB-ASSY.

Captions in illustration








(2) Apply ATF to a new O-ring and install it to the reverse clutch piston SUB-ASSY.

Captions in illustration








(3) Push the reverse clutch drum SUB-ASSY into the reverse clutch piston SUB-ASSY by both hands.

Captions in illustration





CAUTION:
Be careful not to damage the O-ring.






31. Installation of reverse clutch return spring SUB-ASSY
(1) Apply ATF to a new O-ring and install it to the reverse clutch piston SUB-ASSY.

Captions in illustration





(2) Install the reverse clutch return spring SUB-ASSY to the reverse clutch piston SUB-ASSY.





32. Installation of No.3 clutch balancer
(1) Install the No.3 clutch balancer to the reverse clutch return spring SUB-ASSY.
(2) Place the SST on the No.3 clutch balancer and press the reverse clutch return spring SUB-ASSY using a press.
SST 09387-00070

CAUTION:
To avoid the deformation of the spring seat, stop pressing the spring seat when it descends to 1 to 2 mm {0.0394 to 0.0787 in} from the groove of the snap ring.


(3) Install the snap ring.

CAUTION:
^ Check that the gap of the snap ring end is not aligned with the claw of the spring retainer.
^ Do not stretch the snap ring excessively.






(4) Insert the gap of the snap ring end into the No.3 clutch balancer as shown in the figure.

Captions in illustration








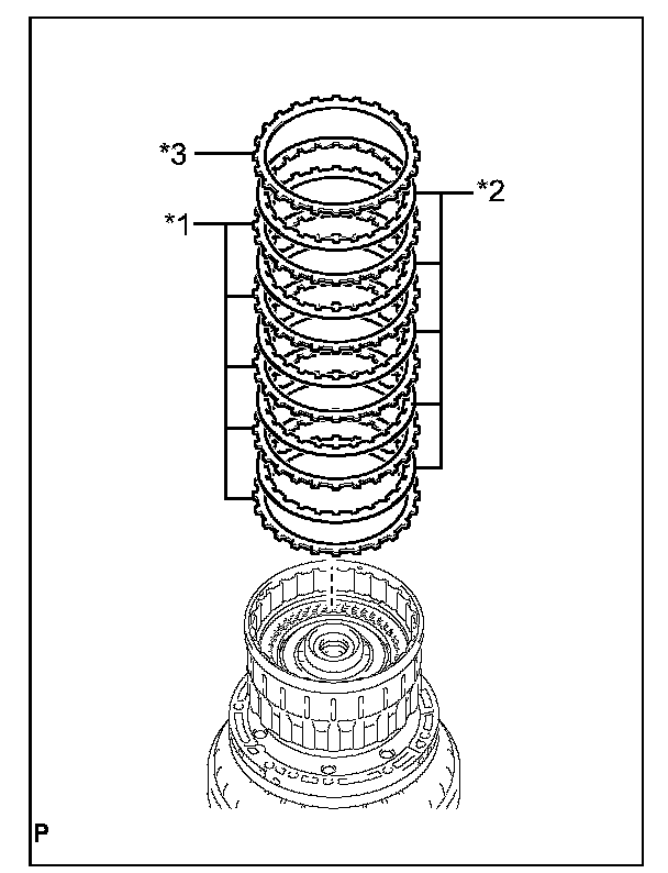
33. Installation of No.2 clutch disc (direct clutch disc)
(1) Install the direct clutch flange, 5 No.2 clutch discs, and 5 No.2 clutch plates to the reverse clutch drum SUB-ASSY.

Captions in illustration





Installation order: *1 - *2 - *1 - *2 - *1 - *2 - *1 - *2 - *1 - *2 - *3

CAUTION:
Check that the disc, plate, and flange are installed in the correct order.






(2) Use a flat tip screwdriver to install 2 snap rings to the reverse clutch drum SUB-ASSY.

Captions in illustration





CAUTION:
Be careful not to damage the reverse clutch drum SUB-ASSY.


NOTE:
Wrap the tip of a flat tip screwdriver with tape before using it.

34. Check of No.2 clutch pack clearance Automatic Transmission Unit





35. Installation of reverse clutch flange
(1) Install the reverse clutch flange to the reverse clutch drum SUBASSY.





36. Installation of reverse clutch reaction sleeve
(1) Install the clutch cushion plate, reverse clutch flange, 4 No.3 clutch discs, 3 No.3 clutch plates, and reverse clutch reaction sleeve to the reverse clutch drum SUB-ASSY.

Captions in illustration





Installation order: *1 - *2 - *1 - *2 - *1 - *2 - *1 - *3 - *4 - *5

CAUTION:
Check that the disc, plate, flange, sleeve, and cushion plate are installed in the correct order.






(2) Use a flat tip screwdriver to install the snap ring to the reverse clutch piston SUB-ASSY.

Captions in illustration





CAUTION:
Be careful not to damage the reverse clutch piston SUB-ASSY.


NOTE:
Wrap the tip of a flat tip screwdriver with tape before using it.

37. Check of No.3 clutch pack clearance Automatic Transmission Unit





38. Removal of reverse clutch reaction sleeve
(1) Use a flat tip screwdriver to remove the snap ring from the reverse clutch piston SUB-ASSY.

Captions in illustration





CAUTION:
Be careful not to damage the reverse clutch piston SUB-ASSY.


NOTE:
Wrap the tip of a flat tip screwdriver with tape before using it.





(2) Remove the reverse clutch reaction sleeve, clutch cushion plate, reverse clutch flange, 4 No.3 clutch discs, and 3 No.3 clutch plates from the reverse clutch drum SUB-ASSY.





39. Installation of forward clutch piston SUB-ASSY
(1) Install the coast clutch piston to the forward clutch piston SUBASSY.

Captions in illustration








(2) Apply ATF to a new O-ring and install it to the input shaft.

Captions in illustration





(3) Install the forward clutch piston SUB-ASSY to the input shaft.





40. Installation of No.1 clutch balancer
(1) Apply ATF to a new D-ring and install it to the No.1 clutch balancer.

Captions in illustration








(2) Install the No.1 clutch balancer and forward clutch return spring SUB-ASSY to the input shaft.

Captions in illustration





CAUTION:
Be careful not to damage the D-ring.






(3) Place the SST on the No.1 clutch balancer and press the forward clutch return spring SUB-ASSY using a press.
SST 09387-00110

CAUTION:
To avoid the deformation of the spring seat, stop pressing the spring seat when it descends to 1 to 2 mm {0.0394 to 0.0787 in} from the groove of the snap ring.


(4) Install the snap ring.

CAUTION:
^ Check that the gap of the snap ring end is not aligned with the claw of the spring retainer.
^ Do not stretch the snap ring excessively.






(5) Insert the gap of the snap ring end into the No.1 clutch balancer as shown in the figure.

Captions in illustration








41. Installation of No.4 clutch disc (coast clutch disc)
(1) Install the coast clutch flange, 4 No.4 clutch discs, and 4 No.4 clutch plates to the forward clutch piston SUB-ASSY.

Captions in illustration





Installation order: *1 - *2 - *1 - *2 - *1 - *2 - *1 - *2 - *3

CAUTION:
Check that the disc, plate, and flange are installed in the correct order.






(2) Use a flat tip screwdriver to install the snap ring.

Captions in illustration





CAUTION:
Be careful not to damage the forward clutch piston SUB-ASSY.


NOTE:
Wrap the tip of a flat tip screwdriver with tape before using it.